网络加速必备:联通三大ASN线路详解
中国联通骨干网目前有:AS4837(CHINA169)、AS9929(CNCNET)以及AS10099(CUG),不同的骨干网的组合方式,就会构成不同的联通的线路,下面就说一下联通的不同的线路组合。

联通A网的概念和电信CN2概念不一样,联通A网只在内地才会存在,到了境外会接入联通169网络或者联通国际AS10099,目前联通的线路构成是这样的:
AS4837内+AS4837外:常见的配置,代表了标准的联通169网络服务,适用于大众用户,也是一般联通家宽路由线路,后续非凡云也将支持该线路。
AS4837内+AS10099外:一种增强型国际连通性方案,适合追求高性能国际访问的用户,后续非凡云也将支持该线路。
AS9929内+AS10099外:联通的高端国际线路,专为要求极高的国际通信质量设计,该线路是非凡云首条精品线路,欢迎大家体验。
联通线路配置在国内与国际之间呈现出多样化结构,国内部分主要依托AS4837和AS9929,而国际通信则通过AS4837或AS10099来实现,不同的组合方式衍生出不同的网络服务等级。
判断线路,最好的方法就是看路由节点的ASN,下面介绍一下联通三种常见的路线路由:
1、联通 169 普通网络(AS4837 + AS4837)
普通的169网络,内地和境外都是AS4837,可以看到全程都是AS4837节点,没有任何AS9929或者AS10099节点。
2、联通国际路线(AS4837 + AS10099)
因为不知道这种线路应该叫什么,也许就叫联通国际 CUG(China Unicom Global)。内地使用AS4837,出境后直接接入AS10099,不会经过AS9929节点。
3、联通高端路线 CU Premium(AS9929 + AS10099)
这是联通优质的线路,路由是AS4837 -> AS9929 -> AS10099这样。
以非凡云云服务器为例,线路测试:
AS9929:
用户到机房

机房到用户

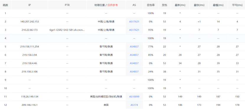
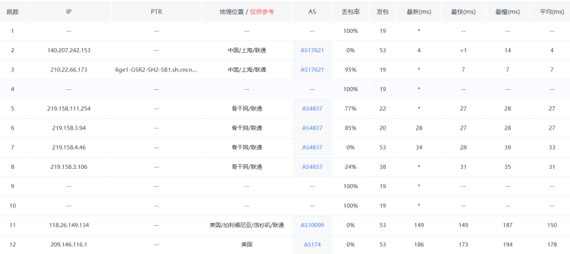
AS10099:
用户到机房

机房到用户

可以明确看出内地使用AS4837,出境后直接接入AS10099,不会经过AS9929节点。
- 点赞
- 收藏
- 关注作者
评论(0)