合合信息IntFinQ知识库体验:大模型加速器2.0,助力企业走向文档智能化
【摘要】 在数字化转型浪潮中,企业文档处理正面临「数据爆炸」与「认知过载」的双重挑战。合合信息Textin最新推出的「大模型加速器2.0」正在重新定义企业级文档智能化的边界。本文将带您深入体验这场文档认知革命的核心技术突破。
在数字化转型浪潮中,企业文档处理正面临「数据爆炸」与「认知过载」的双重挑战。合合信息Textin最新推出的「大模型加速器2.0」正在重新定义企业级文档智能化的边界。本文将带您深入体验这场文档认知革命的核心技术突破。
一、TextIn解析引擎:破解复杂文档的「达芬奇密码」
传统OCR技术在面对专业文档时,常陷入「看得见文字,读不懂结构」的困境。大模型加速器2.0的文档解析能力升级,让机器真正具备「人类级文档理解力」。
1. 无线表识别:
通过「多模态特征融合算法」,准确识别无边框表格的单元格边界。在财务报表测试中,合并单元格识别准确率优秀,支持从银行流水到科研数据的精准提取。
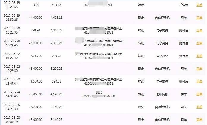
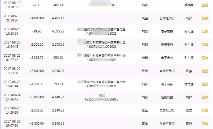
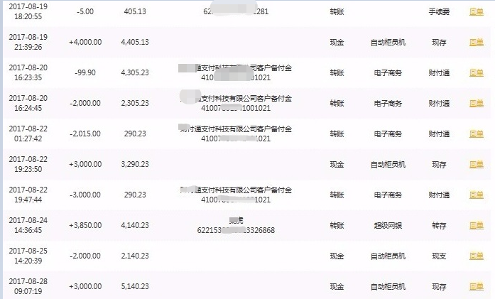
以下面无线表格为例:

通过通用文档解析,我们可以精准提取结果:

可以看到,无线表里的内容都被提取了,并且在处理结果里增加了表格线,方便我们拷贝和查阅。
2. 跨页表格识别:
基于「文档语义流分析技术」,自动识别跨页表格的连续性。实测中成功还原长达12页的临床试验数据表,保持行列关系零误差。
以下面的跨页财报表格为例:

通用文档解析的结果如下:

识别结果中,已将因分页断开的表格重新拼合在一起。
3. 图表数据挖掘:
Textin全新上线图表解析技术,基于大规模预训练的基座模型,通过生成式学习的方法,对图表的布局、线条、颜色、标记等多维度特征进行深度建模,并提取图表中的关键数据点、坐标轴信息、图例说明等,可精准识别柱状图、折线图、饼图等十余种专业图表类型并转化为大模型能够“读懂”的Markdown格式,不仅提取柱状图/折线图的坐标数据,更能理解图例的语义关联。
下面我们以带有图表的研究类文章为例:

我们通过上方菜单进入到知识库。

将这张图片上传到知识库,向AI展开提问。

我们要求AI给出近几年Jetson Orin Nano应用案例增长趋势的数据表格,可以看到AI充分读懂了文章中折线图的意思,并且返回给我们正确的结果。
4. 复杂版面解析:文档结构的「CT扫描仪」
Textin「版面分割神经网络」,可精准处理多栏排版、图文混排等复杂场景。
以下面的双栏论文为例:

我们将论文上传到知识库,并向AI展开提问。

可以看到AI对我们的问题对答如流,不仅能够识别双栏文字,而且对于复杂数学公式也可以应对自如。
而且,文档解析引擎能够在投喂给大模型的Markdown文件中标记页码、坐标等空间位置信息,在大模型输出文档解析结果后,帮助其精准定位原文内容,达到精确到句子/段落的溯源效果,方便人工验证信息的准确性,降低大模型“胡说八道”的风险。
二、IntFinQ知识库:企业知识的「智能中枢」
合合信息近期推出的IntFinQ知识库,为企业文档智能化提供了强有力的支持。该产品利用先进的文档解析和知识管理技术,帮助企业高效处理复杂文档,构建智能问答系统,实现信息的高效利用和管理。
其主要特点包括:
| 主要特点 | 详细说明 |
| 海量文档存储 | 支持导入约16万个PDF文件,单个PDF容量可达上千页,总文档规模达数十万页级别 |
| 高效检索系统 | 通过预索引构建实现毫秒级响应,400页文档定位时间<1秒 |
| 多模式检索支持 | 单文档模式:精准定位段落位置 全局模式:跨16万文档关联搜索 |
| 智能问答生成 | 问题分析→意图识别→知识检索→答案生成全流程处理 |
| 知识库整合 | 公开知识库:预置16万行业文档 个人知识库:支持用户私有文档上传 |
| 底层模型架构 | 深度集成DS(DeepSeek)系列模型 |
1. 公共知识库体验
公开知识库里预置了行业文档,具有非常强的专业性。我们尝试询问企业的综合财报信息。

可以看到IntFinQ对财报内容进行了非常硬核的总结。
2. 私有知识库体验
我们可以将自己的文件上传到私有知识库,同样可以获得非常强劲的知识库体验。

对于个人开发者,用户可将已开源的知识库组件接入自身应用,实现产品文档解析、智能问答等功能。此前,合合信息已开源智能文档处理“百宝箱”系列产品,解决文档解析精度低、解析效果评估难和大模型幻觉等问题,开发者可根据研发需求灵活搭配使用,进一步提升文档解析效率。
3. 基于知识库实现AI的智能问答
基于公共/个人知识库,IntFinQ会根据提问,检索和学习文档内容并做出智能回答。

在回答里,IntFinQ会标注答案的来源,点击来源角标,会定位到原文部分,非常的严谨和便利。
三、Coze+ParseX+DeepSeek实现文档的高效处理
1. 传统方案 vs 智能升级
传统方案使用Coze自带的文本解析插件,识别精度低、处理速度慢,一旦文档中包含图表,往往无法精确识别,版本还原度不够高。

现在使用ParseX可以高速处理文档内容,对图表进行无约束识别,实现逼真的版本还原。

传统方案与智能升级后的对比:
|
对比项
|
传统Coze Pipeline
|
ParseX增强方案
|
|
处理速度
|
20页/分钟
|
200页/分钟
|
|
表格识别
|
边框依赖型
|
无约束识别
|
|
版式还原
|
70%准确率
|
95%+准确率
|
技术突破点:
-
ParseX引擎:通过文档结构预训练模型,实现版面元素的上下文感知
-
DeepSeek API:注入170B参数大模型的推理能力,使知识关联维度提升10倍
2. Coze+ParseX+DeepSeek处理文档实践
我们在Coze里创建智能体「研报助手」,点击AI生成的图标,输入“总结文档”后自动生成「人设与回复逻辑」。

生成预览后,可以修改AI生成的内容,然后点击替换。

替换后页面如下,在技能中创建工作流。

命名工作流,填写工作流描述。

进入工作流编辑页面。

从开始处拖出一个箭头,新增「插件」。

插件搜索「textin」,选择「通用文档解析专业版」

添加插件后的工作流如下,我们先双击「开始」,将输入的变量类型改为文件类型「File」。

接着,我们需要填写「ParseX」插件需要的信息。
首先,我们选择输入为开始的File变量。

接着我们要去填写TextIn的API密钥信息。我们到TextIn工作台去申请开发者的API密钥。

然后将API密钥填入到coze工作流的ParseX插件的配置中。

「TextIn的文档解析模型」接入之后,我们再来接入「DeepSeek」。
拖出一个新的箭头,指向「大模型」。

模型选择「DeepSeek-R1-32B」的版本。

输入选择「ParseX」解析的markdown格式内容。

系统提示词填写:请从输入{{input}}中提取内容,然后进行总结。

最后将DeepSeek大模型连接到结束,结束的输入为大模型的输出。

工作流完成后,我们点击试运行,上传某企业2024Q3的财报,点击试运行。

运行结果如下,markdown格式的返回可以直接预览。
ParseX的返回内容如下:

经过DeepSeek的最终返回内容如下:

可以观察到经过 智能解析和深度语义分析 后的输出结果。对比原始数据与处理后的结果,验证工作流的准确性和效率提升。通过这一流程,我们能够直观地评估 文档智能技术的实际应用效果,并进一步优化系统配置以满足业务需求。
四、未来展望
当沉默的PDF转化为可对话的「数字员工」,当静态合同进化为实时风险监测的「智能哨兵」,这场由文档智能化驱动的认知革命,正在重新划定企业数字化转型的「能力地平线」。技术突破的背后,是知识管理范式从「信息存储」到「价值创造」的质变升级。
首先,认知能力的突破是文档智能发展的基础。当前的技术已能高效处理传统文本和表格,而未来的重点将转向更复杂的3D文档和视频文档解析。通过多模态学习算法,系统能够理解立体空间中的文档布局、动态视频中的文字信息,以及不同媒介间的语义关联,从而实现对非结构化数据的深度认知。
决策层级的提升标志着文档智能从工具向伙伴转变。现有的问答系统主要提供被动响应,而新一代技术将具备主动预测能力。通过结合知识图谱、机器学习模型和行业规则,系统不仅能回答具体问题,还能分析文档中的潜在风险、预测业务趋势,为企业决策提供前瞻性建议。例如,合同管理系统可自动识别条款异常并预警,财务文档分析平台能预测现金流变化。
生态整合将释放文档智能的最大价值。未来的发展方向是与RPA(机器人流程自动化)和低代码平台深度融合,成为企业数字化基础设施的核心组件。这种整合使文档智能不再孤立运作,而是嵌入业务流程的各个环节——从自动分类归档、智能审核到数据提取分析,形成完整的"感知-理解-决策-执行"闭环。
合合信息IntFinQ的实践表明,文档智能的终极目标不仅是提升效率,更是重构企业知识资产的运营范式。当每一份文档都能被深度理解、主动交互并产生业务洞见,企业将实现从"信息管理"到"知识驱动"的质变。这场静悄悄的认知革命,正在重新定义知识经济的竞争维度。
Textin注册链接:https://www.textin.com/user/login?redirect=%2F&from=0320xpkx-pr-kol
【声明】本内容来自华为云开发者社区博主,不代表华为云及华为云开发者社区的观点和立场。转载时必须标注文章的来源(华为云社区)、文章链接、文章作者等基本信息,否则作者和本社区有权追究责任。如果您发现本社区中有涉嫌抄袭的内容,欢迎发送邮件进行举报,并提供相关证据,一经查实,本社区将立刻删除涉嫌侵权内容,举报邮箱:
cloudbbs@huaweicloud.com
- 点赞
- 收藏
- 关注作者
评论(0)