B/S架构的药品不良反应(ADR)自动监测系统源码,采用SpringBoot、Vue技术开发
B/S技术架构,Java开发语言,采用SpringBoot、Vue、MySQL技术开发,自主版权,三甲医院应用案例,适合二次开发。
药品不良反应是指在使用合格药品时,在正常的用法和用量下出现的与用药目的无关的有害反应。这些反应往往因药物种类、使用方式、个体差异等因素而异,可能导致患者身体不适、病情恶化。ADR智能化监测系统能够主动监测预警,及时发现药物不良反应迹象,辅助医务人员发现不良反应,提高药品安全水平。
药品不良反应(ADR)自动监测与反馈系统可每天实时对全院患者进行自动监测,找出疑似的肝肾功能异常的ADR,经药师审核后,将判断结果和治疗方案调整建议反馈给临床医生,并生成电子申报单。该系统同时有移动端和PC端,可以快速、准确、安全的集成来自于医院任何业务系统的信息,且不影响医院HIS系统的正常运行,使药师能够积极参与用药安全监测,保障患者用药安全,提高ADR上报数量。
ADR智能监测系统拟开发三个数据分析与信号识别引擎,分别为ADR数据辨别引擎、药品ADR信号主动监测引擎、ADR处置行为分析引擎。系统由系统管理、规则管理、监测报告三个大的功能模块组成,方便药师维护监测规则知识库,以及监测主题库。


ADR智能监测系统功能描述:
一、规则管理
指标管理:
系统支持每天自动从目标系统获取医院在用的所有检验指标,以供制作监测的规则,具体功能如下:
1、系统支持自动同步以及手工同步院内正在使用的检验指标。
2、支持自定义添加指标,并且可以定义指标类型。
指标规则管理:
系统支持对已经获取的检验指标变更成为可审核的规则,用户可以自定义选择目标指标,针对检验指标的监测类型进行编辑,比如是区间类型的、大于等于、小于等于,差值型的,可以灵活制作,具体功能如下:
1、系统支持查询、新增指标规则。
2、支持对任意检验指标阈值进行编辑,形成监测指标规则。
3、差值型比较复杂,需要设置监测区间。
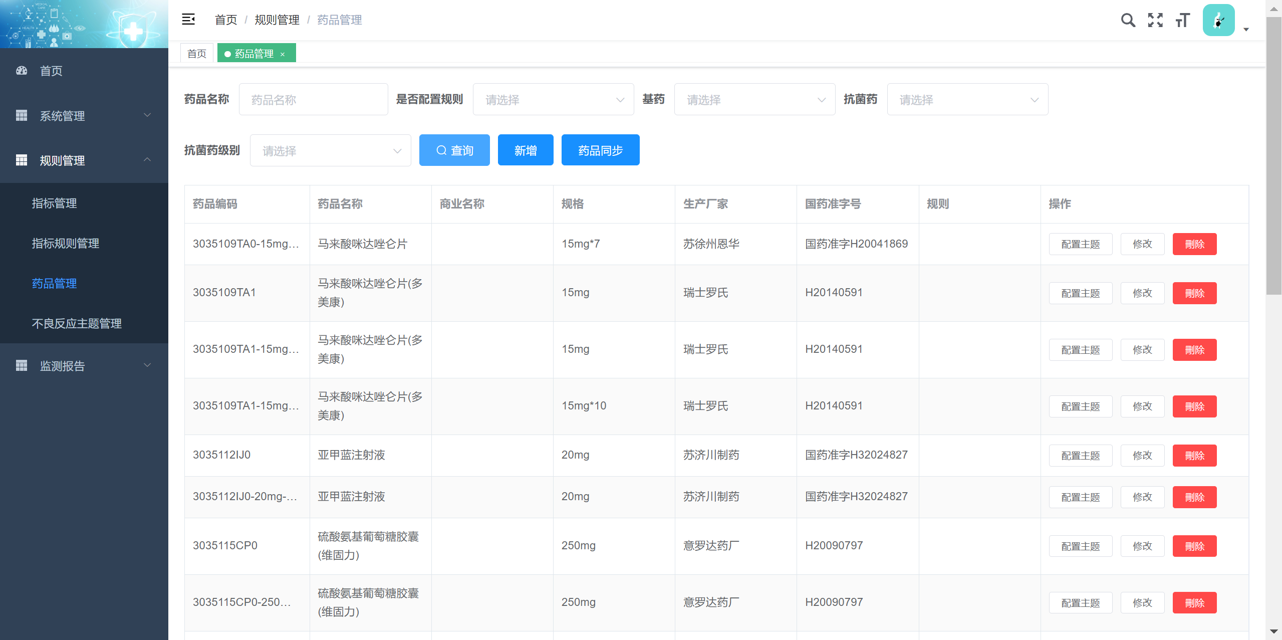
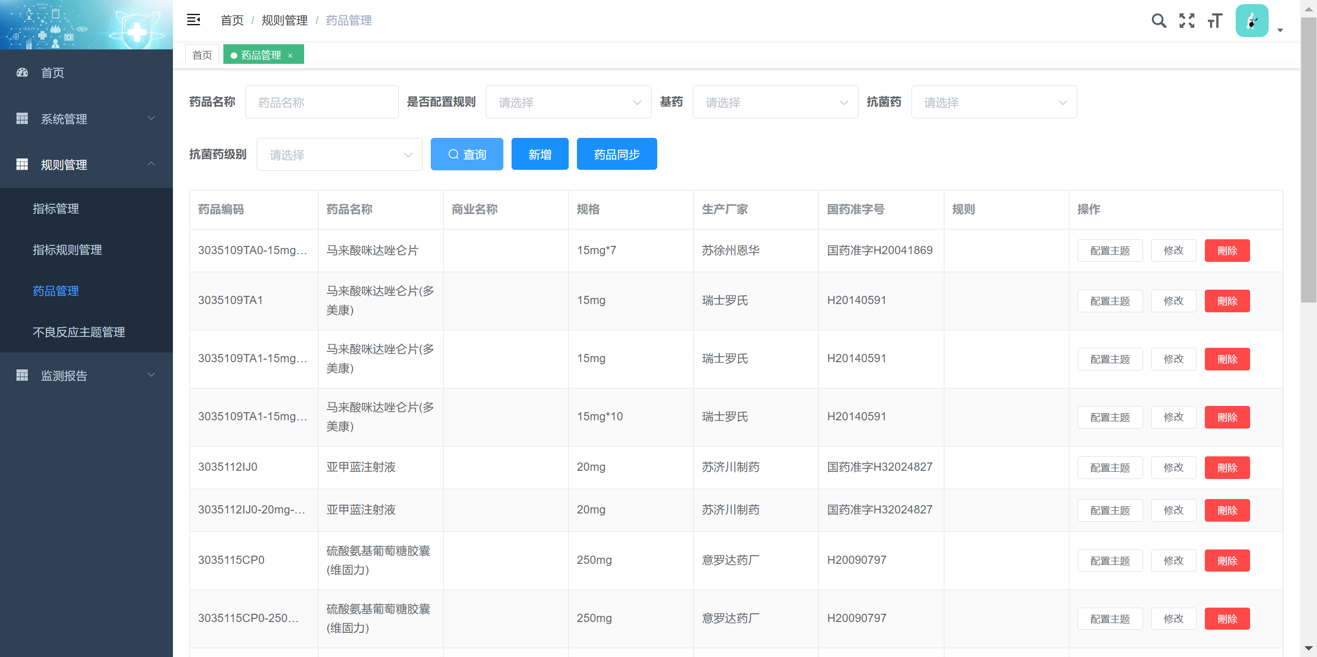
药品管理:
系统支持每天自动从目标系统获取药品字典,便于用户查看、标记药品的属性,另一个可以关联检验指标,精准定位药品和指标之间的关联关系,可以从药品的视图查看有哪些主题,也可以从主题的视图,查看有哪些药品与之相关,具体功能描述如下:
1、系统支持自动同步以及手工同步院内正在使用的药品信息。
2、支持对药品基本信息进行编辑。
3、支持药品与监测主题进行关联。
不良反应主题管理:
系统支持对任意主题的新增、编辑、删除等,可以对临床已知不良反应归类,明确不良反应类型,比如肝功能相关、肾功能相关、淋巴相关等等,可以按照类别精准维护与之对应的指标和关联药品,实现精确审核,具体功能如下:
1、支持查询、任意新增不良反应监测主题。
2、支持主题名称、类型、关联监测检验指标、关联药品自定义编辑,主题类型支持药品为主和规则为主两种类型。
3、系统支持用药前后联合判断,精确定位ADR源头。

二、监测报告
不良反应报告:
系统每天自动监测的结果,以二维图表的方式呈现给用户,可以实现多维度的查询,以及对不良反应数据判定,比如是否为假阳性,并且可以详细看到患者的相关的数据,比如医嘱以及用药历程、检验指标以及趋势图,辅助药师快速决策,具体功能如下:
1、支持按照监测日期、病人ID、病人姓名、住院号、科室、监测主题、不良反应状态进行查询不良反应患者。
2、详情页能看到患者基本信息、监测结果、指标数据、医嘱数据。
3、支持对监测指标展示趋势图、服用药品历程图。
监测任务管理:
系统对每天监测的情况进行记录,用户可以方便查看当天任务的执行情况,如果发现失败,调整后,可以重复执行,提高系统可用性,具体功能如下:
1、支持按照监测日期、任务状态查询任务执行历史。
2、可以对历史任务手工重复执行。
抗菌药送检记录:
1、系统提供院内HIS系统送检判断接口和保存接口,记录抗菌药用药目的。
2、系统提供医嘱用药目的展示、送检展示,以及提供筛选。

三、系统管理
用户管理:
能够实现对系统用户的统一管理,方便系统用户的添加、编辑、删除等,具体功能如下:
1、支持自定义添加、删除、编辑系统用户。
2、支持对用户姓名、部门、性别、电话、状态等信息进行编辑。
角色管理:
能够实现系统的安全策略要求,对功能封装成角色,方便系统授权,按需分配功能,增加隔离效果,具体功能如下:
1、支持对角色自定义添加、删除、编辑。
2、支持对角色包含的权限自定义编辑。
功能管理:
系统预设的基础功能,有权限的用户可以支持对系统功能菜单信息,诸如名称进行编辑,一般不需要更改。
- 点赞
- 收藏
- 关注作者
评论(0)