ADR智能监测系统,主动获取检验数据、病历内容、以及其他临床数据,自动判定不良反应迹象,并生成报告供药师人工判定
药物不良反应(Adverse Drug Reaction,ADR)是指在使用合格药品时,在正常的用法和用量下出现的与用药目的无关的有害反应。这些反应往往因药物种类、使用方式、个体差异等因素而异,可能导致患者身体不适、病情恶化甚至死亡。
ADR监测引擎每日主动获取检验数据、病历内容、以及其他临床数据,根据知识库内容自动判定患者是否有不良反应迹象,记录触发规则的数据,并生成报告供药师人工判定。引擎可智能判断指标和医嘱的先后顺序,以及监测区间,极大的降低假阳,提高医务人员的工作效率。
ADR智能监测系统由系统管理、规则管理、监测报告三个大的功能模块组成。方便药师维护监测规则知识库,以及监测主题库,提高临床工作效率。


开发环境
开发语言:Java
技术架构:B/S
开发工具:IntelliJ、IDEA
前端框架:Vue
后端框架:SpringBoot
数 据 库:MySQL
三、药物不良反应ADR智能监测系统实现功能:
(1)系统管理
用户管理:
能够实现对系统用户的统一管理,方便系统用户的添加、编辑、删除等。
角色管理:
能够实现系统的安全策略要求,对功能封装成角色,方便系统授权,按需分配功能,增加隔离效果。
功能管理:
系统预设的基础功能,有权限的用户可以支持对系统功能菜单信息,诸如名称进行编辑,一般不需要更改。


(2)规则管理
指标管理:
系统支持每天自动从目标系统获取医院在用的所有检验指标,以供制作监测的规则。
指标规则管理:
系统支持对已经获取的检验指标变更成为可审核的规则,用户可以自定义选择目标指标,针对检验指标的监测类型进行编辑,比如是区间类型的、大于等于、小于等于,差值型的,可以灵活制作。
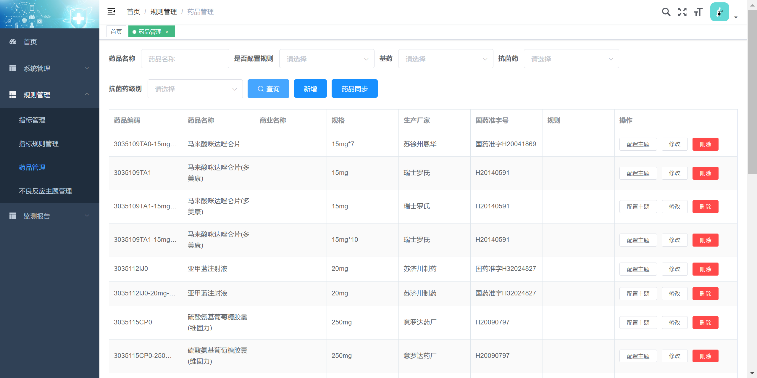
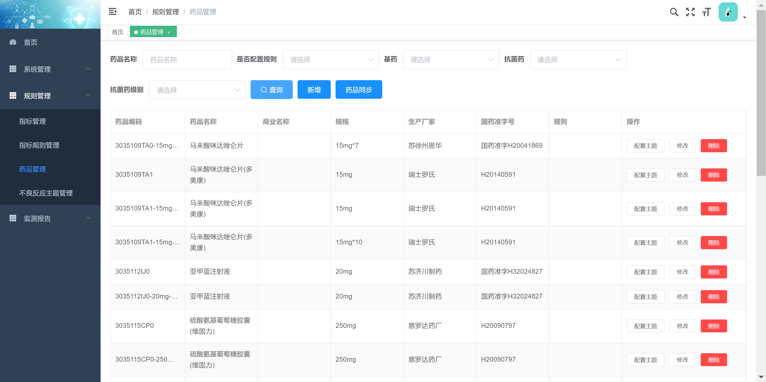
药品管理:
系统支持每天自动从目标系统获取药品字典,便于用户查看、标记药品的属性,另一个可以关联检验指标,精准定位药品和指标之间的关联关系,可以从药品的视图查看有哪些主题,也可以从主题的视图,查看有哪些药品与之相关。
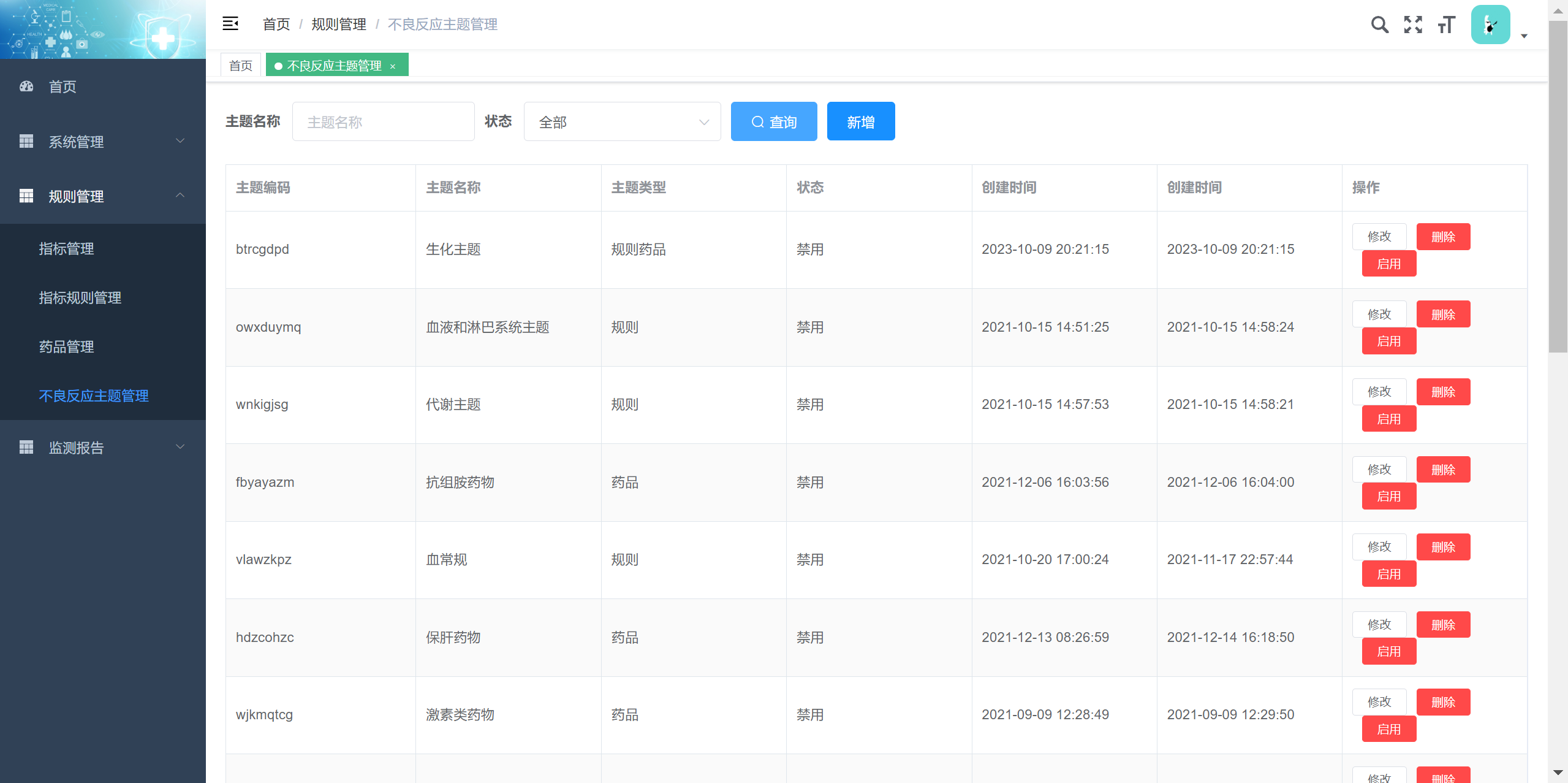
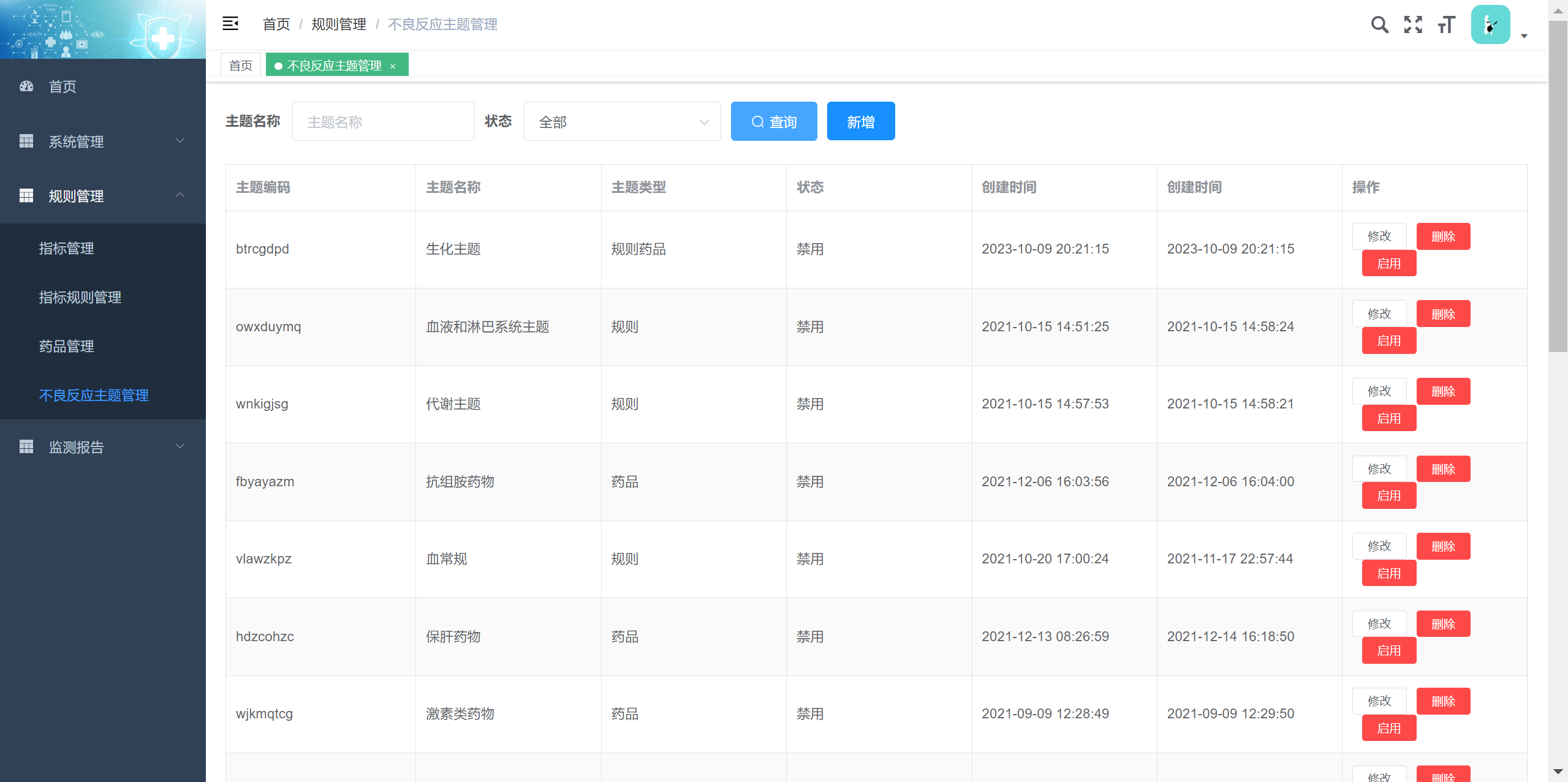
不良反应主题管理:
系统支持对任意主题的新增、编辑、删除等,可以对临床已知不良反应归类,明确不良反应类型,比如肝功能相关、肾功能相关、淋巴相关等等,可以按照类别精准维护与之对应的指标和关联药品,实现精确审核。


(3)监测报告
不良反应报告:
系统每天自动监测的结果,以二维图表的方式呈现给用户,可以实现多维度的查询,以及对不良反应数据判定,比如是否为假阳性,并且可以详细看到患者的相关的数据,比如医嘱以及用药历程、检验指标以及趋势图,辅助药师快速决策。
监测任务管理:
系统对每天监测的情况进行记录,用户可以方便查看当天任务的执行情况,如果发现失败,调整后,可以重复执行,提高系统可用性。
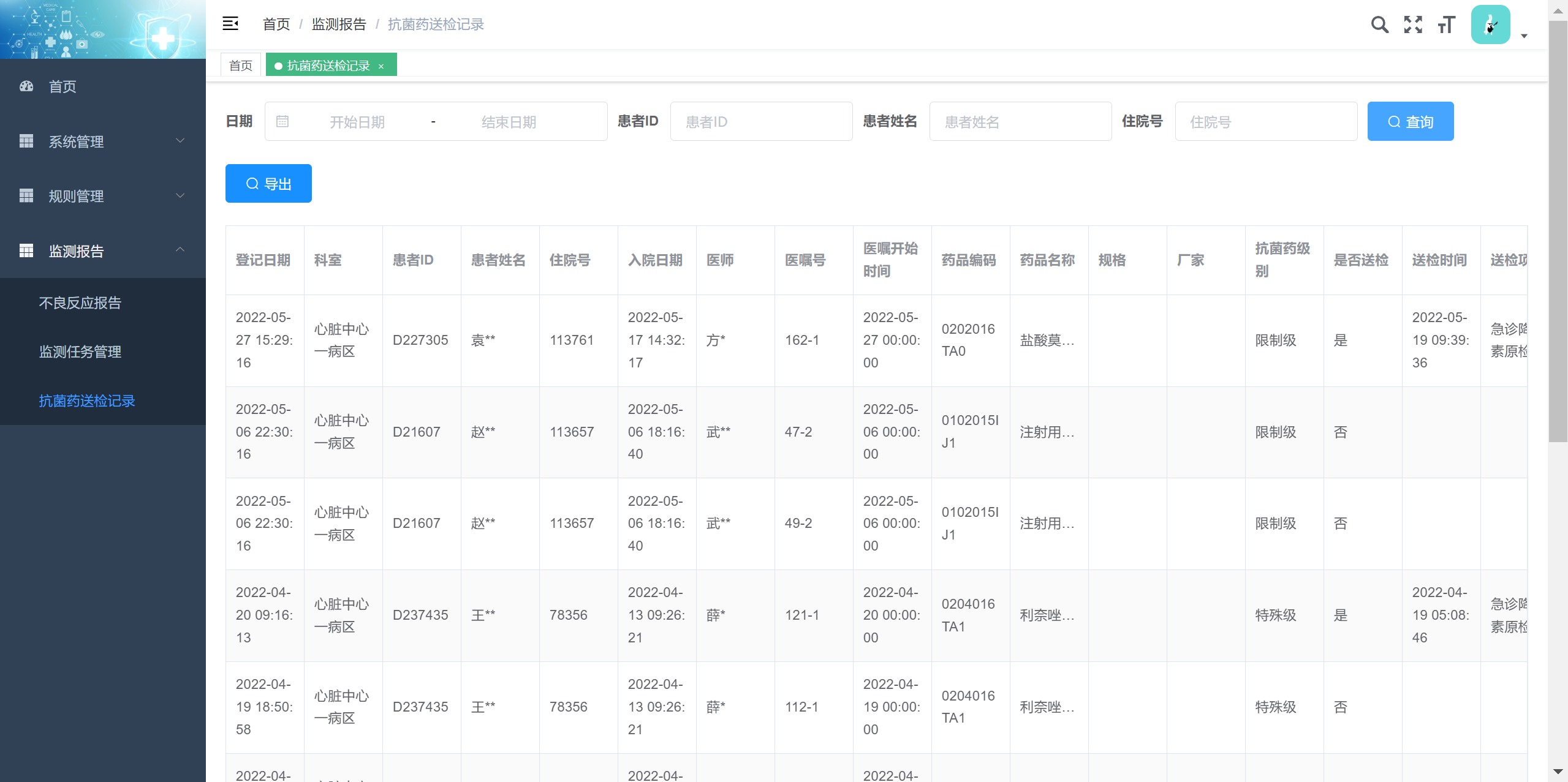
抗菌药送检记录:
1、系统提供院内HIS系统送检判断接口和保存接口,记录抗菌药用药目的。
2、系统提供医嘱用药目的展示、送检展示,以及提供筛选。


- 点赞
- 收藏
- 关注作者
评论(0)