【精选单品】智能客服质检:更高效的客服助手,提升用户服务质量!
在销售与售后服务过程中,客服对于整个流程的推进起着至关重要的作用,通过对客服流程及内容的实时监测,能够帮助企业优化客服流程与话术,通过智能分析,解读用户信息,为企业的运营与产品迭代提供优化依据。
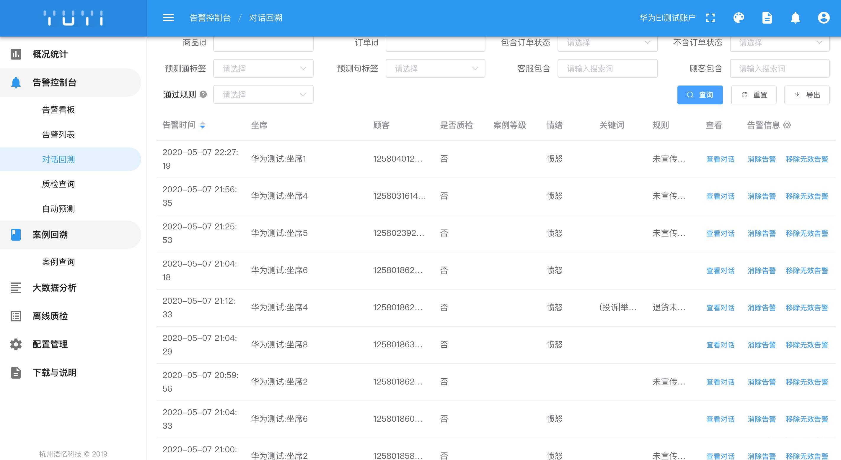
华为云云市场猫头鹰客服质检系统即是这样一个客服质检加管理平台,可以对所有对话实现全量实时监控,帮助企业优化整体销售及售后流程,优化企业整体运营及质检体系。

基于人工智能自然语言处理技术,猫头鹰客服智能质检与管理系统通过实时收集用户与客服对话内容数据,利用自主研发的人工智能引擎总结、量化客服对话中的:情感控制、话术精准性、服务专业度等核心信息,搭建一套360度客服评估系统。
通过人工智能技术实时、全量地收集并挖掘每一通对话中的话术细节。并且基于智能分析角度,搭建一套革命性话术评估体系,为每一位客服进行客观打分。从而整合客服的历史表现和得分,提供可视化的数据展示界面及Excel报告。

猫头鹰客服质检平台的四大亮点:
1、实时全量监控,基于客服智能评估系统,语义系统将对客服通话进行实时采集、分析与整合;对通话中产生的重要问题进行实时告警,允许管理人员随时介入对话进行干预。
2、通话基础违规检验,分别从客服对话的反应间隔、语句长度、应答句数等基本维度对客服服务进行约束和检验。
3、人工/智能标注统计,猫头鹰提供了一套允许管理人员对客服通话进行人工评估的系统。质检员可对任意对话打上预定义“标签”,日后可对其进行统计分析,并生成自动打标签引擎代替人工。

4、大数据分析,猫头鹰系统还将利用智能分析手段,深度解读消费者通话内容,挖掘其对产品、服务的核心观点与意见,为企业运营、产品迭代等及时提供优化依据。
文中提到的商品链接:猫头鹰智能质检服务
【华为云云市场,助您上云无忧】
- 点赞
- 收藏
- 关注作者

评论(0)