云小课 | 安全第8课 DSC:快速识别敏感数据并脱敏
关键词:华为云 数据安全中心 敏感数据 识别 数据脱敏
敏感数据是指泄漏后可能会给社会或个人带来严重危害的数据。
对个人而言,身份证号码、家庭住址、工作单位、银行卡号等隐私信息都是敏感数据;对企业或组织而言,客户资料、财务信息、技术资料、重大决策等公司核心信息都是敏感数据。
静态脱敏:您可以按照脱敏规则一次性完成大批量数据的变形转换处理,静态脱敏通常用在将生产环境中的敏感数据交付至开发、测试或者外发环境的情况使用,适用于开发测试、数据分享、数据研究等场景。您可以通过DSC控制台创建脱敏任务,快速实现对数据库和大数据的脱敏。
动态脱敏:DSC提供动态脱敏API,支持用户对外部申请访问的数据实时脱敏。动态脱敏通常会在数据对外提供查询服务的场景中使用,适用于生产应用、数据交换、运维应用、精准营销等场景。具体操作方法请参考数据动态脱敏。
那么,如何为敏感数据穿上"防护衣",有效保护敏感数据呢?
DSC助您轻松实现数据的动静脱敏,全方位确保敏感信息不被泄露。

跟随小课的脚步,两步教您通过华为云DSC实现敏感数据识别与脱敏~~

DSC预置了100+条敏感数据识别和脱敏规则,可对个人敏感信息(身份证、银行卡、姓名、手机号、邮箱等)、企业敏感信息(营业执照号码、税务登录证号码等)、密钥敏感信息(PEM证书、HEY私钥等)、设备敏感信息(IP地址、MAC地址、IPV6地址等)、位置敏感信息(省份、城市、GPS位置、地址等)和通用敏感信息(日期)等敏感信息进行识别和脱敏,具体的脱敏算法及使用场景请参考脱敏算法。
示例:
假设“rsd-dsc-test”数据库中“dsc_yunxiaoke”表中存储了如下银行员工的信息表:

现需对该表进行敏感数据识别并完成脱敏,可选择预置的“银行金融领域模板”的识别规则组,识别出敏感数据并生成识别结果数据报告,再对识别出的敏感数据采用“Hash脱敏”中的SHA256算法进行脱敏处理。
第一步:识别敏感数据
步骤 1 购买数据安全中心服务后,进入DSC管理控制台。
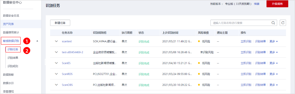
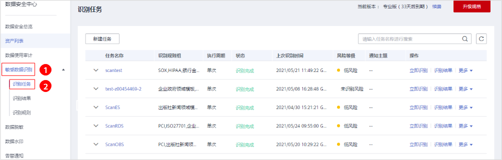
步骤 2 在左侧导航树中,选择“敏感数据识别 > 识别任务”,进入“识别任务”页面。

步骤 3 单击“新建任务”,在弹出的“新建任务”对话框中,配置任务基本信息。

步骤 4 单击“确定”,返回敏感数据任务列表。

步骤 5 任务状态为“识别完成”后,在该任务的操作列,单击“识别结果”,查看数据识别结果。
由上图可见,Birthday和Email列被识别为敏感数据风险。
步骤 6 单击风险字段,查看风险详情。

参考“第二步:数据脱敏”对数据库“rds-dsc-test”中的表“dsc_yunxiaoke”的Birthday和Email列进行脱敏。
----结束
第二步:数据脱敏
DSC支持创建数据库脱敏任务和ES脱敏任务,脱敏方法类似,本节以创建数据库静态脱敏任务为例进行演示,如需了解ES脱敏的相关方法,请参见创建ES脱敏任务。
步骤 1 在左侧导航树中,选择“数据脱敏”,进入“数据脱敏 > 数据库脱敏”页面。

步骤 2 将“数据库脱敏”设置为
,开启数据库脱敏。
步骤 3 单击“新建任务”,进行“数据源配置”。如果您想脱敏后生成一张完整的表,此处勾选所有数据类型。 
步骤 4 单击“下一步”,进行“脱敏算法配置”。
步骤 5 单击“下一步”,进入“脱敏周期”页面,配置脱敏周期。

步骤 6 单击“下一步”,进行“数据目标配置”,配置脱敏后生成的表的存放位置。 
步骤 7 单击“完成”,返回到数据库脱敏任务列表,单击
,启用脱敏任务,并在任务所在行的“操作”列,单击“立即运行”,执行脱敏任务。
当“状态”为“已完成”时,表示脱敏成功。
----结束
效果验证:
更多关于DSC的功能,戳这里
进行了解吧~~。
安全无小事,时刻需警惕。2021,华为云普惠云安全,为您的网站、主机、数据提供免费云体检,还有一站式过等保贴心指导,赶紧戳这里
,了解详情吧!
- 点赞
- 收藏
- 关注作者

评论(0)