线程中不当使用延迟问题
背景
这是在具体代码中发现的不当延迟的问题,极端情况下可能把内存打爆。
代码DevLicenseServiceRoaDelegateImpl.java
定义:

使用:

signalRefreshHelp 定义

这段代码最大问题是使用延迟算法不当,在极端情况下会导致内存暴涨,严重影响服务程序的性能。
不要使用sleep来实现延迟
使用sleep实现延迟看起来非常直观,但是这个在高并发、多请求、长期运行的服务程序里必须特别小心。
这是因为衡量服务程序性能的一个非常重要的指标是QPS, 就是服务程序的处理能力,一般情况下越大越好;
服务程序的总并发能力等于每个线程的qps;单个线程的QPS = 1000毫秒 / (处理一个请求的毫秒);
所以上面那个线程的QPS <= 1000 / 10000 = 0.1 (因为线程sleep了10000毫秒)
这里的处理逻辑是错误的!也有很严重的性能隐患,不过幸好调用这个api 请求不多,才没有导致严重问题。
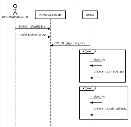
开发者的意图是在创建一个任务后,延迟10s执行该任务,处理时序图如下

假如时间点t1 & t2 挨得很接近的话,线程在执行job1 & job2 也是很接近。
但实际的情况变成:

就算创建job1 & job2的时间很接近,但job2执行的时间会比预期多了10s;连续提交的任务越多,越容易堆积,这些堆积的任务存放在 blocking queue,一直到处理完毕才删除;如果这类请求很多的话,很容易引起内存爆掉。
解决方案
选择合适的数据结构,默认线程池关联的队列是LinkedBlockingQueue , 没有延迟控制,可以使用DelayQueue

DelayQueue内部使用了PriorityQueue 按时间排序;需要自己使用Delayed 接口封装请求数据
下面是例子

测试代码,同时加入 3个需要延迟10s的任务

测试结果:

符合预期
- 点赞
- 收藏
- 关注作者
评论(0)