如何设置AdsPower提高账号登录成功率?如此简易的操作跨境电商必须要知道!cookier登录失败问题解决国内首选方案-Ads
大家好,我是AdsPower大白。时不时会有一些小伙伴询问我Cookies登录失败的问题。
不论时FB账号,亚马逊账号,或者其他账号,总结下来,八成的登录问题,都与您的软件设置有关。
1、UserAgent对Cookies登录的重要性
当我们购买到账号或者Cookies的时候,对方一般都会提供UserAgent,当您设置浏览器环境的时候,需要将UserAgent填写在AdsPower浏览器环境的设置中

2、不要频繁更换登录设备,“安全锁”助您避免烦恼
AdsPower建议用户登录同一个账号的时候,尽量使用同一台设备,不要频繁的在多台设备同时登录,也不要频繁切换设备登录。
在AdsPower团队协作版本的团队管理->全局设置中可开启

开启安全锁之后,当某个子成员打开浏览器环境,其他成员,都将不能打开该账号

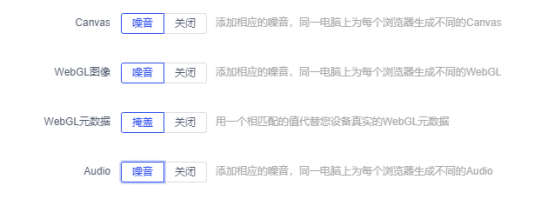
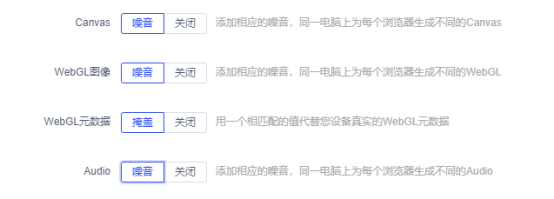
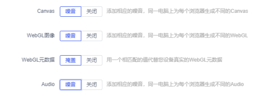
3、尝试开启硬件指纹干扰
当在同一台设备登录大量的账号时,建议在AdsPower软件中开启硬件指纹噪音
4、尽可能的固定IP,以及同一IP尽量少登录账号
4.1、当一个账号一直在日本的IP登录,突然出现在哥伦比亚的IP上登录,会被网站认为是异地登录,导致登出,或者需要用户重新验证
我们应该尽量避免此类问题发生。
4.2、即使没有出现国家/地区级别的ip变化,出现城市的频繁变化,一天内,登录地区同时出现在广州、北京、上海、长沙,也会被网站认为是不正常
4.3、即使IP在同一个城市,一天内频繁变动多次,仍然属于不正常
4.4、由于购买的IP可能被同时卖给其他人,多个人在同一个IP上可能登录多个账号,当一个账号出现问题,网站有可能进行相同IP的所有账号关联验证
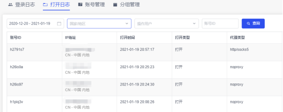
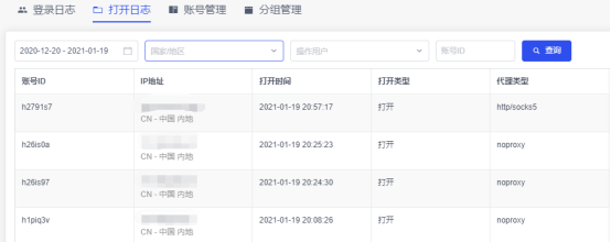
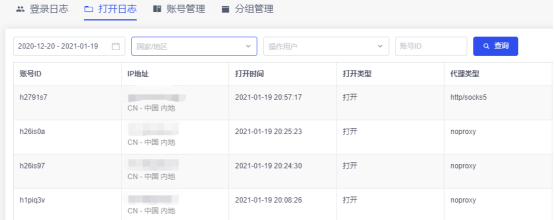
4.5、当账号出现异常时,通过AdsPower的打开日志查看账号IP变化情况(团队管理->操作日志->打开日志)

5、不要在登录立即进行敏感操作
大家可以自行在搜索引擎上搜索养号,了解账号注册之后,需要进行哪些行为,以及需要避免哪些行为
比如不要大量加好友,不要频繁发消息给陌生人
更多干货欢迎关注AdsPower指纹浏览器获取更多信息~
- 点赞
- 收藏
- 关注作者
评论(0)