创龙带您解密TI、Xilinx异构多核SoC处理器核间通讯
1.什么是异构多核SoC处理器
顾名思义,单颗芯片内集成多个不同架构处理单元核心的SoC处理器,我们称之为异构多核SoC处理器,比如:
TI的OMAP-L138(DSP C674x + ARM9)、AM5708(DSP C66x + ARM Cortex-A15)SoC处理器等;
Xilinx的ZYNQ(ARM Cortex-A9 + Artix-7/Kintex-7可编程逻辑架构)SoC处理器等。
2.异构多核SoC处理器有什么优势
相对于单核处理器,异构多核SoC处理器能带来性能、成本、功耗、尺寸等更多的组合优势,不同架构间各司其职,各自发挥原本架构独特的优势。比如:
ARM廉价、耗能低,擅长进行控制操作和多媒体显示;
DSP天生为数字信号处理而生,擅长进行专用算法运算;
FPGA擅长高速、多通道数据采集和信号传输。
同时,异构多核SoC处理器核间通过各种通信方式,快速进行数据的传输和共享,可完美实现1+1>2的效果。
3.常见核间通信方式
要充分发挥异构多核SoC处理器的性能,除开半导体厂家对芯片的硬件封装外,关键点还在于核间通信的软硬件机制设计,下面介绍几种在TI、Xilinx异构多核SoC处理器上常见的核间通信方式。
OpenCL
OpenCL(全称Open Computing Language,开放运算语言)是第一个面向异构系统通用目的并行编程的开放式、免费标准,也是一个统一的编程环境,便于软件开发人员编写高效轻便的代码,而且广泛适用于多核心处理器(CPU)、图形处理器(GPU)、Cell类型架构以及数字信号处理器(DSP)等其他并行处理器,在能源电力、轨道交通、工业自动化、医疗、通信、军工等应用领域都有广阔的发展前景。
在异构多核SoC处理器上,OpenCL将其中一个可编程内核视为主机,将其他内核视为设备。在主机上运行的应用程序(即主机程序)管理设备上的代码(内核)的执行,并且还负责使数据可用于设备。设备由一个或多个计算单元组成。比如,在TI AM5728异构多核SoC处理器中,每个C66x DSP都是一个计算单元。

OpenCL运行时,一般包含如下两个组件:
主机程序创建和提交内核以供执行的API。
用于表达内核的跨平台语言。
参考开发资料:
http://downloads.ti.com/mctools/esd/docs/opencl
https://training.ti.com/sites/default/files/docs/Introduction_to_OpenCL_slides.pdf
DCE(Distributed Codec Engine)分布式编解码器引擎,是TI基于AM57x异构多核SoC处理器的视频处理框架,提供的完整Gstreamer插件框架。
DCE由三部分硬件模块组成,分别为MPU核心、IPU2核心以及IVA-HD硬件加速器,其主要功能如下:
MPU:基于ARM用户空间Gstreamer应用,控制libdce模块。libdce模块在ARM RPMSG框架上实现与IPU2的IPC通信。
IPU2:构建DCE server,基于RPMSG框架与ARM实现通信,使用编解码器引擎和帧组件控制IVA-HD加速器。
IVA-HD:实现视频/图像编解码的硬件加速器。

IPC(Inter-Processor Communication)是一组旨在促进进程间通信的模块。通信包括消息传递、流和链接列表。这些模块提供的服务和功能可用于异构多核SoC处理器中ARM和DSP核心之间的通信。

如下为TI异构多核SoC处理器常用的核间通信方式的优缺点比较:
方式 |
优点 |
缺点 |
OpenCL |
|
|
DEC |
|
|
IPC |
|
|
AXI
AXI(Advanced eXtensible Interface)是由ARM公司提出的一种总线协议,Xilinx从6系列的FPGA开始对AXI总线提供支持,目前使用AXI4版本。

ZYNQ有三种AXI总线:
(A)AXI4:(For high-performance memory-mapped requirements.)主要面向高性能地址映射通信的需求,是面向地址映射的接口,允许最大256轮的数据突发传输。
(B)AXI4-Lite:(For simple, low-throughput memory-mapped communication.)是一个轻量级的地址映射单次传输接口,占用很少的逻辑单元。
(C)AXI4-Stream:(For high-speed streaming data.)面向高速流数据传输,去掉了地址项,允许无限制的数据突发传输规模。
AXI协议的制定是要建立在总线构成之上的。因此,AXI4、AXI4-Lite、AXI4-Stream都是AXI4协议。AXI总线协议的两端可以分为分为主(master)、从(slave)两端,他们之间一般需要通过一个AXI Interconnect相连接,作用是提供将一个或多个AXI主设备连接到一个或多个AXI从设备的一种交换机制。
AXI Interconnect的主要作用是:当存在多个主机以及从机器时,AXIInterconnect负责将它们联系并管理起来。由于AXI支持乱序发送,乱序发送需要主机的ID信号支撑,而不同的主机发送的ID可能相同,而AXI Interconnect解决了这一问题,他会对不同主机的ID信号进行处理让ID变得唯一。
AXI协议将读地址通道、读数据通道、写地址通道、写数据通道、写响应通道分开,各自通道都有自己的握手协议。每个通道互不干扰却又彼此依赖。这是AXI高效的原因之一。
4.IPC核间通信开发
下面以创龙AM57x(AM5728/AM5708)评估板源码为例,讲解IPC核间通信开发。


RTOS Processor-SDK 04.03.00.05。
Linux-4.9.65/Linux-RT-4.9.65内核。
IPC开发包版本:3.47.01.00。
IPC(Inter-Processor Communication)提供了一个与处理器无关的API,可用于多处理核心环境中的核间通信、与同一处理核心上的其他线程的通信(进程间)和与外围设备(设备间)的通信。IPC定义了以下几种通信组件,如下表所示,这些通信组件的接口都有以下几个共同点:
Notify |
MessageQ |
ListMp |
GateMp |
HeapBufMp |
FrameQ(通常用于raw视频数据) |
HeapMemMp |
RingIO(通常用于音频数据) |
所有IPC通信组件的接口都由系统规范化命名。
在HLOS端,所有IPC接口需要使用_setup()来初始化,使用_destroy()来销毁相应的IPC Module;部分初始化还需要提供配置接口_config()。
所有的实例化都需要使用_create()来创建,使用_delete()来删除。
在更深层次使用IPC时需要用_open()来获取handle,在结束使用IPC时需要用_close()来回收handle。
IPC的配置多数都是在SYS/BIOS下完成配置的,对于支持XDC配置的则可以使用静态配置方法。
每个IPC模块都支持trace信息用于调试,而且支持不同的trace等级。
部分IPCs提供了专门的APIs来用于提取分析信息。
本小节主要演示MessageQ通信组件的运用。
MessageQ模块特点
支持结构化发送和接收可变长度消息。
一个MessageQ都将有一个读者,多个编写者。
既可用于同构和异构多处理器消息传递,也可用于线程之间的单处理器消息传递。
功能强大,简单易用。

MessageQ的传输,主要区分为发送者,跟接收者,下述为常用API的功能描述:
MessageQ_Handle MessageQ_create (String name, MessageQ_Params *params):创建消息队列,创建队列名称将成为后面MessageQ_open的依据。
Int MessageQ_open(String name , MessageQ_QueueId * queueId):打开创建的消息队列,获取队列ID值(ID值应为唯一值,所以创建消息队列时名称要唯一)。
MessageQ_Msg MessageQ_alloc(UInt16 heapId, UInt32 size):申请消息空间,从heap中申请,所以需要先打开heap获取heapID,消息由MessageQ_Msg结构体长度规定。
MessageQ_registerHeap(HeapBufMP_Handle_upCast(heapHandle),HEAPID):注册堆,分配heapID给这个堆,作为一个唯一标识符。
Int MessageQ_put(MessageQ_QueueId queueId, MessageQ_Msg msg):发送消息到queueId对应的消息队列。
Int MessageQ_get(MessageQ_Handle handle,MessageQ_Msg *msg,UInt timeout):从消息队列中接收消息。
MessageQ_free(MessageQ_Msg *msg):释放msg空间,注意不用的消息空间需要释放,不然会导致内存问题。
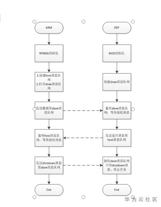
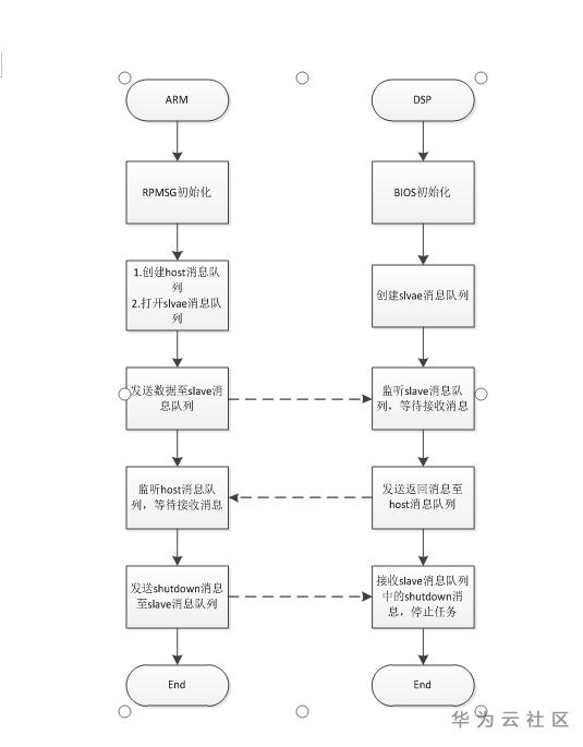
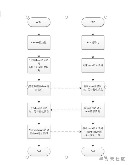
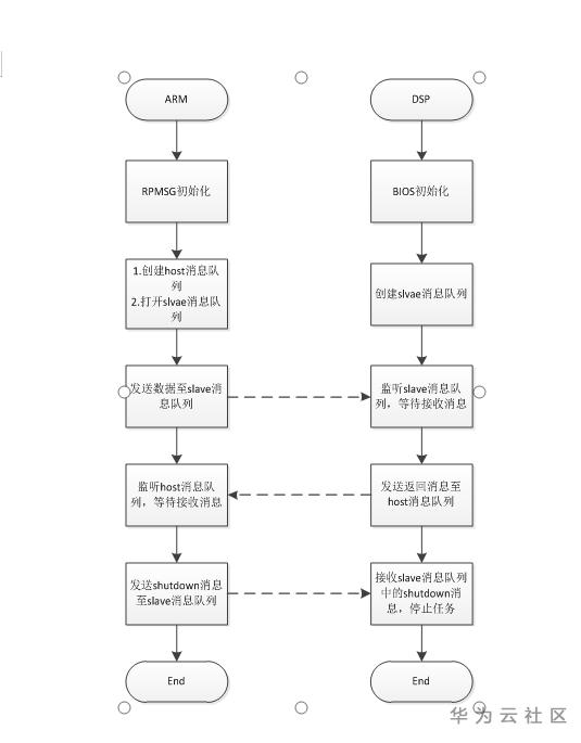
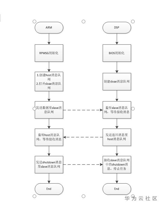
以ex02_messageq例程为例,说明MessageQ机制的使用过程:

例程运行流程图如下:

结合实际代码分析上述流程:
ARM:
a)创建host消息队列,打开slave消息队列。

b)发送消息至slave消息队列,监听host消息队列,等待返回信息 。

c)发送shutdown消息至slave队列。

DSP:
a)创建slave消息队列。

b)监听slave消息队列,并返回消息至host端。

c)接收shutdown消息,停止任务。

地址映射
首先,对于DSP/IPU子系统和L3互连之间的存储器管理单元(MMU),都用于将虚拟地址(即DSP/IPU子系统所查看的地址)转换为物理地址(即从L3互连中看到的地址)。
DSP:MMU0用于DSP内核,MMU1用于本地EDMA。
IPU:IPUx_UNICACHE_MMU用于一级映射,IPUx_MMU用于二级映射。
rsc_table_dspx.h,rsc_table_ipux.h资源表中,配置了DSP/IPU子系统的映射关系,在固件启动前,该映射关系将会写入寄存器,完成映射过程。



物理地址跟虚拟地址之间的映射关系查看:
DSP1:(默认配置mmu1的配置与mmu2的配置是一样的)
cat /sys/kernel/debug/omap_iommu/40d01000.mmu/pagetable
cat /sys/kernel/debug/omap_iommu/40d02000.mmu/pagetable
DSP2:(默认配置mmu1的配置与mmu2的配置是一样的)
cat /sys/kernel/debug/omap_iommu/41501000.mmu/pagetable
cat /sys/kernel/debug/omap_iommu/41502000.mmu/pagetable
IPU1:
cat /sys/kernel/debug/omap_iommu/58882000.mmu/pagetable
IPU2:
cat /sys/kernel/debug/omap_iommu/55082000.mmu/pagetable

Resource_physToVirt(UInt32pa,UInt32*da);
Resource_virtToPhys(UInt32da,UInt32*pa);
内存访问
CMA内存
CMA内存,用于存放IPC程序的堆栈,代码以及数据段。
dts文件中,预留了几段空间作为从核的段空间(DDR空间):

IPC-demo/shared/config.bld:用于配置段空间的起始地址,以及段大小。

以DSP1为例,说明DMA中的内存映射关系:

通过系统中查看虚拟地址表,左边da(device address)对应的为虚拟地址,右边对应的为物理地址,那么虚拟地址的0x95000000的地址映射到的应该是0x99100002的物理地址。
cat /sys/kernel/debug/omap_iommu/40d01000.mmu/pagetable

共享内存
共享内存:其实是一块“大家”都可以访问的内存。
CMEM是一个内核驱动(ARM),是为了分配一个或多个block(连续的内存分配),更好地去管理内存的申请(一个或多个连续的内存分配block),释放以及内存碎片的回收。
CMEM内存:由linux预留,CMEM驱动管理的一段空间。
arch/arm/boot/dts/am57xx-evm-cmem.dtsi中定义了CMEM,并预留了空间出来作为共享内存(DDR & OCMC空间)。

cmem{}中最大分配的block数量为4个,cmem-buf-pools的数量没有限制。
实际使用上,DSP与IPU访问的都是虚拟地址,所以还要完成虚拟地址到物理地址的映射关系。
dsp1/rsc_table_dsp1.h定义了虚拟地址到物理地址的映射表,虚拟地址(0x85000000)到物理地址0xA0000000的映射,那么在DSP端访问0x85000000的地址时,实际上通过映射访问的物理地址应是0xA0000000。


cat /sys/kernel/debug/omap_iommu/40d01000.mmu/pagetable

实际应用:
a)初始化cmem。

b)申请内存空间,并转换为物理地址(msg传输的时候传输的是物理地址,否则传输虚拟地址有不确定性)。

DSP端的处理:接收物理地址,转换为虚拟地址进行操作,发送操作完成的结果。这里DSP需要将地址返回给ARM的话,那应该将虚拟地址转换为物理地址,再传给ARM端。

- 点赞
- 收藏
- 关注作者
评论(0)