围观小白做实验-HCIE云服务实验第4章-云数据库架构设计实验
实验目的
1.理解华为云数据库服务的基本原理
2.理解RDS,RDS迁移服务的使用场景
实验组网

1资源准备
VPC准备
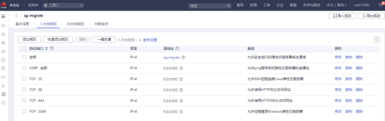
sg-migrate安全组准备
sg-mysql安全组准备
Mycat安全组
2.新增云服务器ECS-WEB01
ECS-WEB001安装安装httpd
yum install httpd –y
ECS-WEB001 安装
phpyum install -y php

安装组件:
yum install -y php-pdo.x86_64 php-mysql
3.Mysql主从部署
新增ECS实例ECS-DB01

新增ECS实例ECS-DB02,与ECS-DB01不在一个可用区

新增云服务器ECS-WEB02与01不在一个可用区
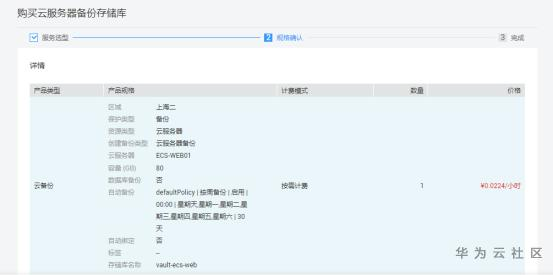
先创建备份存储库


在ECS-DB01上部署mysql
wget http://repo.mysql.com/mysql-community-release-el7-5.noarch.rpm
rpm -ivh mysql-community-release-el7-5.noarch.rpm
yum install mysql-server -y
在ECS-DB01上启动mysql
通过以下命令启动mysql:
systemctl start mysqld
在ECS-DB01上修改mysql密码
首先通过以下命令登录mysql:
mysql -u root
然后在mysql>界面通过以下命令修改mysql的root密码为“Huawei@123!”:
use mysql
update user set password=PASSWORD("Huawei@123!") where User='root';
修改完毕通过以下命令退出
mysql:quit
netstat -nutpel|grep 3306
配置ECS-DB01为主库
登录ECS-DB01,修改配置文件,通过以下命令备份mysql配置文件:
mv /etc/my.cnf /etc/my.cnf.bak
通过以下整段命令新增新的my.cnf配置文件:
cat << EOF >> /etc/my.cnf
[mysqld]
join_buffer_size = 128M
sort_buffer_size = 2M
read_rnd_buffer_size = 2M
datadir=/var/lib/mysql
socket=/var/lib/mysql/mysql.sock
# Disabling symbolic-links is recommended to prevent assorted security risks
lower_case_table_names = 1
innodb_strict_mode = 1
sql_mode =
symbolic-links=0
character_set_server = utf8
log-bin = mysql-bin
binlog_format=row
server-id = 2
expire_logs_days = 10
slave_skip_errors = 1062
[mysqld_safe]
log-error=/var/log/mysqld.log
pid-file=/var/run/mysqld/mysqld.pid
EOF
通过以下命令确认mysql配置文件:
cat /etc/my.cnf
通过以下命令重启mysqld:
systemctl restart mysqld
在ECS-DB01上设置同步账户
首先通过以下命令登录ECS-DB01的mysql:
mysql -pHuawei@123!
在mysql>界面输入以下命令新建同步账户:
create user 'copy'@'172.16.%' identified by 'huawei@123';
在mysql>界面输入以下命令为同步账户授予复制权限:
grant replication slave on *.* to 'copy'@'172.16.%' identified by 'huawei@123';
在mysql>界面输入以下命令为root账户授予vpc01访问呢权限:
grant all privileges on *.* to 'root'@'172.16.%' identified by 'Huawei@123!';
在mysql>界面输入以下命令使配置生效:
flush privileges;
记录binlog信息
确认主库binlog的File值和Position值,并记录,用于后续配置从库同步:
show master status;
File:mysql-bin.000001
Position:773
在ECS-DB02上部署mysql
wget http://repo.mysql.com/mysql-community-release-el7-5.noarch.rpm
rpm -ivh mysql-community-release-el7-5.noarch.rpm
yum install mysql-server -y
在ECS-DB02上启动mysql
通过以下命令启动mysql:
systemctl start mysqld
在ECS-DB02上修改mysql密码
首先通过以下命令登录mysql:
mysql -u root
然后在mysql>界面通过以下命令修改mysql的root密码为“Huawei@123!”:
use mysql
update user set password=PASSWORD("Huawei@123!") where User='root';
修改完毕通过以下命令退出mysql:
quit
确认ECS-DB02的mysql状态
netstat -nutpel|grep 3306
为ECS-DB02的root设置访问权限
在mysql>界面输入以下命令为root用户授予vpc01访问权限:
grant all privileges on *.* to 'root'@'172.16.%' identified by 'Huawei@123!';
设置ECS-DB02为从库
登录ECS-DB02,通过以下命令备份mysql配置文件:
mv /etc/my.cnf /etc/my.cnf.bak
通过复制以下整段命令执行配置从库的配置文件:
cat << EOF >> /etc/my.cnf
[mysqld]
join_buffer_size = 128M
sort_buffer_size = 2M
read_rnd_buffer_size = 2M
datadir=/var/lib/mysql
socket=/var/lib/mysql/mysql.sock
# Disabling symbolic-links is recommended to prevent assorted security risks
symbolic-links=0
sql_mode =
lower_case_table_names = 1
innodb_strict_mode = 1
log-bin = mysql-bin
binlog_format=row
character_set_server = utf8
server-id = 3
read-only = 1
expire_logs_days = 10
slave_skip_errors = 1062
[mysqld_safe]
log-error=/var/log/mysqld.log
pid-file=/var/run/mysqld/mysqld.pid
确认配置文件
通过以下命令确认文件:
cat /etc/my.cnf
重启ECS-DB02的mysql
通过以下命令重启mysqld:
systemctl restart mysqld
记录ECS-DB01的内网IP地址
登录ECS-DB01,通过ifconfig命令查看内网IP地址,并记录IP地址,用于下一步骤使用
ECS-DB01的内网IP:172.16.0.135
设置ECS-DB02为从库
通过以下命令登录ECS-DB02的mysql数据库:
mysql -pHuawei@123!
输入以下命令设置ECS-DB01为从库:
CHANGE MASTER TO MASTER_HOST='172.16.0.135', MASTER_USER='copy', MASTER_PASSWORD='huawei@123', MASTER_LOG_FILE='mysql-bin.000001', MASTER_LOG_POS=773;
开启主从同步
在mysql>界面输入以下命令:
start slave;
查看主从同步状态
在mysql>界面输入以下命令查看同步状态,查看Slave_IO_Running和Slave_SQL_Running的状态。
show slave status \G;
在ECS-DB01的mysql中插入数据表
登录ECS-DB01的mysql数据库:
mysql -pHuawei@123!
通过以下命令新建库:
create database demo;
通过以下命令创建数据表:
use demo;
CREATE TABLE IF NOT EXISTS `users` (`id` INT UNSIGNED AUTO_INCREMENT, `firstname` VARCHAR(100) NOT NULL, `lastname` VARCHAR(100) NOT NULL, PRIMARY KEY(`id`))ENGINE=InnoDB DEFAULT CHARSET=utf8;
通过以下命令插入数据:
insert into users values (1, 'Kelton', 'Hoover');
insert into users values (2, 'Siena', 'Alvarado');
insert into users values (3, 'Zayden', 'Bennett');
insert into users values (4, 'Kinley', 'Carter');
insert into users values (5, 'Athena', 'Wallace');
insert into users values (6, 'Gavin', 'Duran');
insert into users values (7, 'Alyssa', 'Oneill');
insert into users values (8, 'Kylan', 'Branch');
insert into users values (9, 'Nigel', 'Rodriguez');
insert into users values (10, 'Mackenzie', 'Watson');
insert into users values (11, 'Cara', 'Richard');
insert into users values (12, 'Madyson', 'Macdonald');
insert into users values (13, 'Jordin', 'Stanton');
insert into users values (14, 'Sidney', 'Dean');
insert into users values (15, 'Lainey', 'Skinner');
insert into users values (16, 'Adalyn', 'Sellers');
insert into users values (17, 'Alisson', 'Blake');
insert into users values (18, 'Jamarcus', 'Clarke');
insert into users values (19, 'Yoselin', 'Yoder');
insert into users values (20, 'Holden', 'Bridges');
登录ECS-DB02的mysql,查看同步是否生效
在ECSDB02上通过以下命令查看同步信息
首先通过以下命令登陆mysql:
mysql -pHuawei@123!
然后通过命令show databases;查看公告新建的库是否已经正常同步:

使用demo库:
use demo
查看表数据:
select * from users;
数据显示正常
4.部署mycat
新增一台ECS部署mycat
部署mycat
使用winscp工具传过去
登录ECS-mycat01,通过以下命令下载mycat,并安装到目录/usr/local:
Wget http://dl.mycat.io/1.6-RELEASE/Mycat-server-1.6-RELEASE-20161028204710-linux.tar.gz
tar -xvf Mycat-server-1.6-RELEASE-20161028204710-linux.tar.gz
mv mycat /usr/local/ -f
安装java
通过以下命令安装java:
yum install -y java-1.8.0-openjdk
修改mycat数据库配置文件
通过以下命令设置切换到mycat配置文件目录:
cd /usr/local/mycat/conf
通过以下命令修改mycat配置文件schema.xml(将红色字体替换为实际的值):
注意IP地址
mv schema.xml schema.xml.bak
masterdb=172.16.0.135
slavedb=172.16.0.160
cat << EOF >> schema.xml
<?xml version="1.0"?>
<!DOCTYPE mycat:schema SYSTEM "schema.dtd">
<mycat:schema xmlns:mycat="http://io.mycat/">
<schema name="copydb" checkSQLschema="false" sqlMaxLimit="100" dataNode="copynode"></schema>
<dataNode name="copynode" dataHost="dthost" database="demo" />
<dataHost name="dthost" maxCon="1000" minCon="10" balance="1"
writeType="0" dbType="mysql" dbDriver="native">
<heartbeat>select user()</heartbeat>
<!-- can have multi write hosts -->
<writeHost host="hostmaster" url="$masterdb:3306" user="root" password="Huawei@123!">
<!-- can have multi read hosts -->
<readHost host="hostslave" url="$slavedb:3306" user="root" password="Huawei@123!"
weight="1" />
</writeHost>
</dataHost>
</mycat:schema>
EOF
确认已经修改的配置文件:
修改mycat服务配置文件
通过以下命令设置mycat配置文件server.xml:
cd /usr/local/mycat/conf
mv server.xml server.xml.bak
cat << EOF >> server.xml
<?xml version="1.0" encoding="UTF-8"?>
<!-- - - Licensed under the Apache License, Version 2.0 (the "License");
- you may not use this file except in compliance with the License. - You
may obtain a copy of the License at - - http://www.apache.org/licenses/LICENSE-2.0
- - Unless required by applicable law or agreed to in writing, software -
distributed under the License is distributed on an "AS IS" BASIS, - WITHOUT
WARRANTIES OR CONDITIONS OF ANY KIND, either express or implied. - See the
License for the specific language governing permissions and - limitations
under the License. -->
<!DOCTYPE mycat:server SYSTEM "server.dtd">
<mycat:server xmlns:mycat="http://io.mycat/">
<system>
<property name="useSqlStat">0</property>
<property name="useGlobleTableCheck">0</property>
<property name="serverPort">3310</property>
<property name="manageport">9066</property>
<property name="sequnceHandlerType">2</property>
<property name="processorBufferPoolType">0</property>
<property name="frontWriteQueueSize">4096</property>
<property name="processors">32</property>
<property name="handleDistributedTransactions">0</property>
<property name="useOffHeapForMerge">1</property>
<property name="memoryPageSize">1m</property>
<property name="spillsFileBufferSize">1k</property>
<property name="useStreamOutput">0</property>
<property name="systemReserveMemorySize">384m</property>
<property name="useZKSwitch">true</property>
</system>
<user name="root">
<property name="password">Huawei@123!</property>
<property name="schemas">copydb</property>
</user>
<user name="user">
<property name="password">Huawei@123!</property>
<property name="schemas">copydb</property>
<property name="readOnly">true</property>
</user>
</mycat:server>
EOF
确认mycat服务的配置文件
启动mycat
通过以下命令启动mycat:
cd /usr/local/mycat/bin
./mycat start

通过以下命令查看mycat的状态:
netstat -nutple|grep 3310
在mycat01上安装Mysql客户端
通过下面的命令安装mysql:
wget http://repo.mysql.com/mysql-community-release-el7-5.noarch.rpm
rpm -ivh mysql-community-release-el7-5.noarch.rpm
yum install mysql-server -y
通过以下命令启动mysql:
systemctl start mysqld
修改mysql密码
首先通过以下命令登录mysql:
mysql -u root
然后在mysql>界面通过以下命令修改mysql的root密码为“Huawei@123!”:
use mysql
update user set password=PASSWORD("Huawei@123!") where User='root';
修改完毕通过以下命令退出mysql:
quit
确认ECS-mycat01的mysql状态
netstat -nutple|grep 3306
验证mycat
登录ECS-mycat01虚机,使用mysql命令通过3310端口登录数据库
mysql -h127.0.0.1 -uroot -P3310 -pHuawei@123!
show databases;
use copydb;
select * from users;
5.部署php代码
登录ECS-WEB01虚机,执行如下命令(将红色字体替换为实际值):
cd /var/www/html/
mycatip="172.16.0.165"
cat << EOF >>index.php
<!DOCTYPE html>
<html>
<body>
<?php
echo "<table style='border: solid 1px black;'>";
echo "<tr><th>Id</th><th>Firstname</th><th>Lastname</th></tr>";
class TableRows extends RecursiveIteratorIterator {
function __construct(\$it) {
parent::__construct(\$it, self::LEAVES_ONLY);
}
function current() {
return "<td style='width: 150px; border: 1px solid black;'>" . parent::current(). "</td>";
}
function beginChildren() {
echo "<tr>";
}
function endChildren() {
echo "</tr>" . "\n";
}
}
\$servername = "$mycatip";
\$username = "root";
\$password = "Huawei@123!";
\$dbname = "copydb";
\$dbport = 3310;
try {
\$conn = new PDO("mysql:host=\$servername;port=\$dbport;dbname=\$dbname", \$username, \$password);
\$conn->setAttribute(PDO::ATTR_ERRMODE, PDO::ERRMODE_EXCEPTION);
\$stmt = \$conn->prepare("SELECT id, firstname, lastname FROM users");
\$stmt->execute();
// set the resulting array to associative
\$result = \$stmt->setFetchMode(PDO::FETCH_ASSOC);
foreach(new TableRows(new RecursiveArrayIterator(\$stmt->fetchAll())) as \$k=>\$v) {
echo \$v;
}
}
catch(PDOException \$e) {
echo "Error: " . \$e->getMessage();
}
\$conn = null;
echo "</table>";
?>
</body>
</html>
EOF
启动httpd服务
使用以下命令开启httpd:
systemctl start httpd
验证web服务是否能正常访问
打开浏览器,输入ECS-WEB01的外网IP:116.63.54.124查看是否能显示名字列表:
6.迁移到RDS数据库
购买数据库
确认已经购买的RDS服务
等到RDS实例创建完毕
创建迁移任务
测试连通性
确定设置
修改报错参数重新检测后正常
确认参数对比一致
启动任务确认
确定迁移状态
状态变为“增量迁移”
登录rds验证迁移结果
打开RDS管理列表,点击“登录”
点击库名demo
找到users表,点击“打开表”
在RDS新增列
点击“新增”,并手动插入一条数据
配置只读数据库:在不同的可用区创建只读数据库
在RDS控制台查看只读实例
等待只读库创建完毕
记录RDS主库和RDS只读实例的IP地址
分别记录RDS主库和RDS只读实例的IP地址,准备下一步的迁移操作
Rds主库:172.16.0.62
Rds只读:172.16.0.42
mycat后端数据库迁移到RDS
登录mycat虚机,修改配置文件,确认主库、从库、RDS的内网ip地址(将红色替换为实际值)
cd /usr/local/mycat/conf
sed -i"s/主库ECS-DB01的内网IP地址/RDS主库的内网IP地址/g" schema.xml
sed -i "s/172.16.0.135/172.16.0.62/g" schema.xml
sed -i "s/从库ECS-DB02的内网IP地址/RDS只读实例的内网IP地址/g" schema.xml
sed -i "s/172.16.0.160/172.16.0.42/g" schema.xml
确认是否修改成功:
cat schema.xml
重启mycat
通过以下命令重启mycat:
cd /usr/local/mycat/bin
./mycat restart
验证web是否正常
在浏览器输入ECS-WEB01的外网IP,外网IP:116.63.54.124查看新插入的数据是否可以正常显示
暂增量数据迁移实例
任务结束后删除任务
删除ECS数据库实例
ECS数据库实例已经成功迁移到RDS服务,打开ECS控制台,删除实例ECS-DB01和ECS-DB02
7.结果验证
在web端验证结果
在浏览器输入ECS-WEB01的外网IP:116.63.54.124,查看新插入的数据是否可以正常显示
8.思考题
我们在配置文件上传过程,请思考以下两个问题:
1.数据库主备的好处是什么?
答:具有高可用,主库挂了,可以通过备库切换,具有高性能,读写都操作主库,很容易产生瓶颈。大部分互联网应用读多写少,读会先成为瓶颈,进而影响写性能。主备实例存储六副本,数据可靠性>99.99999%,异地容灾场景
2. 数据库中间件的作用是什么?
答:中间件可以看做是应用到数据库之间一个proxy(代理),实现读写分离的功能,
另外它还可以实现分库分表,mycat实现的就是读写分离的作用
- 点赞
- 收藏
- 关注作者
评论(0)