一站式大数据业务开发
本实践通过数据湖工厂(DLF)和数据湖探索(DLI)服务对电影评分原始数据进行分析,输出评分最高和最活跃Top20电影。用户可以学习到DLF脚本编辑、作业编辑、作业调度等功能,以及DLI的SQL基本语法。
操作流程如下:
准备原始数据,并上传到OBS中。
创建DLF到DLI的数据连接,之后用户可以在DLF界面中操作DLI,例如:创建数据库、创建数据表、分析数据。
创建DLI SQL脚本,通过DLI SQL脚本可以创建数据表、分析数据。
创建DLF作业,通过编排作业和配置作业调度策略,定期执行DLI SQL脚本,使得用户可以每天获取到最新的Top20电影结果。
环境准备
已开通对象存储服务(OBS),并创建桶,例如“s3a://obs-movies”,用于存放原始数据和分析结果数据。
已开通数据湖探索服务(DLI)。
数据准备
获取原始数据(演示数据来自:https://grouplens.org/datasets/movielens/),并保存为csv格式的文件。原始数据说明如下:
将movies.csv、ratings.csv两个原始数据上传至OBS桶,例如“s3a://obs-movies”,后续DLF和DLI将直接对OBS桶中的数据进行处理。
● movies.csv
保存电影的基本信息,包含电影ID、名称、类型。部分数据如表1所示。
movieId |
title |
genres |
|---|---|---|
1 |
Toy Story (1995) |
Adventure|Animation|Children|Comedy|Fantasy |
2 |
Jumanji (1995) |
Adventure|Children|Fantasy |
3 |
Grumpier Old Men (1995) |
Comedy|Romance |
4 |
Waiting to Exhale (1995) |
Comedy|Drama|Romance |
5 |
Father of the Bride Part II (1995) |
Comedy |
● ratings.csv
保存电影评分,包含用户ID、电影ID、评分(0~5)、评分时间。部分数据如表2所示。
userId |
movieId |
rating |
timestamp |
|---|---|---|---|
1 |
31 |
2.5 |
1260759144 |
1 |
1029 |
3 |
1260759179 |
1 |
1061 |
3 |
1260759182 |
1 |
1129 |
2 |
1260759185 |
1 |
1172 |
4 |
1260759205 |
创建DLI数据连接、数据库、数据表
用户可以通过DLI或DLF的编辑器执行SQL来创建数据表,本文以使用DLF编辑器为例。
图1 创建数据连接

参见图2创建一个数据库,用于存放数据表,数据库名称为“movies”。
创建一个DLI SQL脚本,通过SQL语句来创建数据表。
其中,movie、rating为OBS表,数据存储在OBS中,两张表用于存放原始数据。top_rating_movie、top_active_movie为DLI表,两张表用于存放分析结果。
关键操作说明:
图3中的脚本开发区为临时调试区,关闭脚本页签后,开发区的内容将丢失。如需保留该SQL脚本,请单击
,将脚本保存至指定的目录中。
关键参数说明:
● 数据连接:1中创建的DLI数据连接。
● 数据库:2中创建的数据库。
● 资源队列:使用DLI提供的默认资源队列“default”。
● SQL语句:如下所示。
create table movie(movieId int,title varchar(256),genres varchar(256)) using csv options (path 's3a://obs-movies/movies.csv'); create table rating(userId int,movieId int,rating float,rating_date long) using csv options (path 's3a://obs-movies/ratings.csv'); create table top_rating_movie(title varchar(256),avg_rating float,rating_user_number int); create table top_active_movie(title varchar(256),avg_rating float,rating_user_number int);
创建DLI SQL脚本top_rating_movie(用于存放评分最高的Top20电影)
评分最高Top20电影的计算方法是:先计算出每部电影的总评分和参与评分的用户数,过滤掉参与评分的用户数小于100的记录,返回电影名称、平均评分和参与评分用户数。
创建和开发一个DLI SQL脚本,从movie和rating表中计算出评分最高的Top20电影,将结果存放到top_rating_movie表。
图4 脚本(评分最高Top20电影)

关键参数说明:
脚本调试无误后,我们需要保存该脚本,脚本名称为“top_rating_movie”。在后续DLF作业开发和作业调度引用该脚本。
insert overwrite table top_rating_movie select a.title, b.ratings / b.rating_user_number as avg_rating, b.rating_user_number from movie a, ( select movieId, sum(rating) ratings, count(1) as rating_user_number from rating group by movieId ) b where rating_user_number > 100 and a.movieId = b.movieId order by avg_rating desc limit 20
创建DLI SQL脚本top_active_movie(用于存放最活跃的Top20电影)
最活跃Top20电影的计算方法是:平均评分大于3.5中用户评分数最多的20部电影。
创建和开发一个DLI SQL脚本,从movie和rating表中计算出最活跃的Top20电影,将结果存放到top_active_movie表。
图5 脚本(分析最活跃Top20电影)

关键参数说明:
脚本调试无误后,我们需要保存该脚本,脚本名称为“top_active_movie”。在后续DLF作业开发和作业调度引用该脚本。
insert overwrite table top_active_movie select * from ( select a.title, b.ratingSum / b.rating_user_number as avg_rating, b.rating_user_number from movie a, ( select movieId, sum(rating) ratingSum, count(1) as rating_user_number from rating group by movieId ) b where a.movieId = b.movieId ) t where t.avg_rating > 3.5 order by rating_user_number desc limit 20
DLF作业开发和作业调度
假设“movie”和“rating”表是实时变动的,我们希望每天更新Top20电影,那么这里可以使用DLF作业编排和作业调度功能。
创建一个DLF空作业,作业名称为“topmovie”。
图6 创建作业

然后进入到作业开发页面,拖动Dummy和DLI SQL节点到画布中,连接并配置节点的属性。
图7 连接和配置节点属性

关键说明:
Begin(Dummy节点):不执行任何操作,只作为起始点的标识。
top_rating_movie(DLI SQL节点):在节点属性中,关联创建DLI SQL脚本top_rating_movie(用于存放评分最高的Top20电影)中开发完成的DLI SQL脚本“top_rating_movie”。
top_active_movie(DLI SQL节点):在节点属性中,关联创建DLI SQL脚本top_active_movie(用于存放最活跃的Top20电影)中开发完成的DLI SQL脚本“top_active_movie”。
作业编排完成后,单击
,测试运行作业。如果日志运行正常,单击画布空白处,在右侧的“调度配置”页面,配置作业的调度策略。
图8 调度配置

说明:
2019/05/07至2019/05/17,每天0点执行一次作业。
最后我们需要保存作业(单击
),并执行调度作业(单击
)。实现作业每天自动运行,Top20电影的结果自动保存到“top_active_movie”和“top_rating_movie”表。
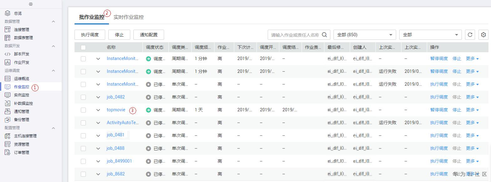
监控作业执行情况
用户如果需要及时了解作业的执行结果是成功还是失败,可以通过DLF的监控界面、邮件通知、短信通知进行了解。以下展示如何进入监控界面查看执行结果。
图9 查看作业执行情况
- 点赞
- 收藏
- 关注作者








,测试运行作业。
),并执行调度作业(单击
)。实现作业每天自动运行,Top20电影的结果自动保存到
评论(0)