TL138/1808/6748F-EVM开发板CPU、FLASH、RAM
TL138/1808/6748F-EVM是广州创龙基于SOM-TL138/1808/6748F核心板开发的一款开发板。由于SOM-TL138/1808/6748F核心板管脚兼容,所以此三个核心板共用同一个底板。开发板采用核心板+底板的设计方式,尺寸为24cm*13cm,它主要帮助开发者快速评估核心板的性能。
核心板采用高密度8层板沉金无铅设计工艺,尺寸为66mm*38.6mm,板载3路高转换率DC-DC核心电压转换电源芯片,实现了系统的低功耗指标,精密、原装进口的B2B连接器引出全部接口资源,以便开发者进行快捷的二次开发使用。
TL138/1808/6748F-EVM底板采用四层无铅沉金电路板设计,为了方便用户学习开发参考使用,上面引出了各种常见的接口。
CPU
OMAP-L138、TMS320C6748、AM1808三款CPU管脚兼容,外设资源基本相同。
OMAP-L138
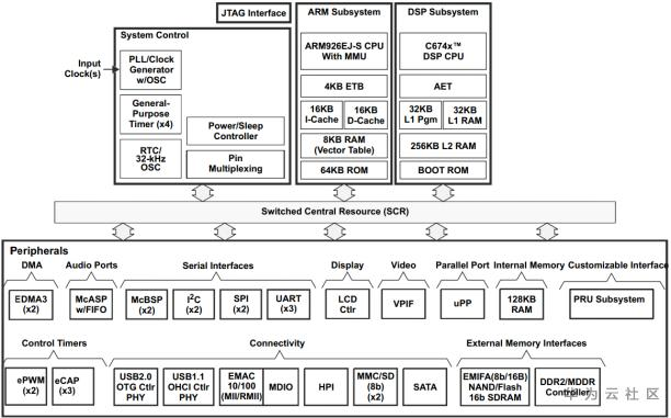
TI公司的达芬奇架构嵌入式应用处理器开始使用DSP与ARM结合的非对称多核结构,OMAP-L138就是其中的一款低功耗双核嵌入式处理器。OMAP-L138双核架构兼具DSP的高数字信号处理性能和精简指令计算机(RISC)技术的优点,双核均是32位处理器。以下是OMAP-L138 CPU的资源框图:
TMS320C6748
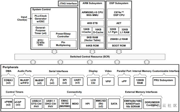
TI TMS320C6748是一款低功耗浮点DSP处理器。支持DSP的高数字信号处理性能和精简指令计算机(RISC)技术,采用一个高性能的456MHz TMS320C674x 32位处理器。以下是TMS320C6748 CPU的资源框图:
AM1808
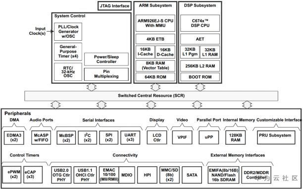
TI AM1808是一款低功耗嵌入式32位工业处理器。拥有多种工业级接口资源,以下是AM1808 CPU的资源框图:

Xilinx Spartan-6 FPGA
FPGA兼容Xilinx Spartan-6 XC6SLX9/16/25/45,平台升级能力强,以下为Xilinx Spartan-6 FPGA特性参数:

FLASH
核心板OMAP-L138/AM1808/C6748端采用工业级NAND FLASH,如下图:
核心板FPGA端采用工业级SPI FLASH,如下图:
RAM
核心板OMAP-L138/AM1808/C6748端RAM采用工业级DDR2,如下图:
- 点赞
- 收藏
- 关注作者





评论(0)