《Java并发编程的艺术》 —3.5.3 锁内存语义的实现
3.5.3 锁内存语义的实现
本文将借助ReentrantLock的源代码,来分析锁内存语义的具体实现机制。
请看下面的示例代码。
class ReentrantLockExample {
int a = 0;
ReentrantLock lock = new ReentrantLock();
public void writer() {
lock.lock(); // 获取锁
try {
a++;
} finally {
lock.unlock(); // 释放锁
}
}
public void reader () {
lock.lock(); // 获取锁
try {
int i = a;
……
} finally {
lock.unlock(); // 释放锁
}
}
}
在ReentrantLock中,调用lock()方法获取锁;调用unlock()方法释放锁。
ReentrantLock的实现依赖于Java同步器框架AbstractQueuedSynchronizer(本文简称之为AQS)。AQS使用一个整型的volatile变量(命名为state)来维护同步状态,马上我们会看到,这个volatile变量是ReentrantLock内存语义实现的关键。
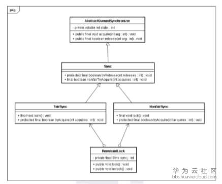
图3-27是ReentrantLock的类图(仅画出与本文相关的部分)。

图3-27 ReentrantLock的类图
ReentrantLock分为公平锁和非公平锁,我们首先分析公平锁。
使用公平锁时,加锁方法lock()调用轨迹如下。
1)ReentrantLock : lock()。
2)FairSync : lock()。
3)AbstractQueuedSynchronizer : acquire(int arg)。
4)ReentrantLock : tryAcquire(int acquires)。
在第4步真正开始加锁,下面是该方法的源代码。
protected final boolean tryAcquire(int acquires) {
final Thread current = Thread.currentThread();
int c = getState(); // 获取锁的开始,首先读volatile变量state
if (c == 0) {
if (isFirst(current) &&
compareAndSetState(0, acquires)) {
setExclusiveOwnerThread(current);
return true;
}
}
else if (current == getExclusiveOwnerThread()) {
int nextc = c + acquires;
if (nextc < 0)
throw new Error("Maximum lock count exceeded");
setState(nextc);
return true;
}
return false;
}
从上面源代码中我们可以看出,加锁方法首先读volatile变量state。
在使用公平锁时,解锁方法unlock()调用轨迹如下。
1)ReentrantLock : unlock()。
2)AbstractQueuedSynchronizer : release(int arg)。
3)Sync : tryRelease(int releases)。
在第3步真正开始释放锁,下面是该方法的源代码。
protected final boolean tryRelease(int releases) {
int c = getState() - releases;
if (Thread.currentThread() != getExclusiveOwnerThread())
throw new IllegalMonitorStateException();
boolean free = false;
if (c == 0) {
free = true;
setExclusiveOwnerThread(null);
}
setState(c); // 释放锁的最后,写volatile变量state
return free;
}
从上面的源代码可以看出,在释放锁的最后写volatile变量state。
公平锁在释放锁的最后写volatile变量state,在获取锁时首先读这个volatile变量。根据volatile的happens-before规则,释放锁的线程在写volatile变量之前可见的共享变量,在获取锁的线程读取同一个volatile变量后将立即变得对获取锁的线程可见。
现在我们来分析非公平锁的内存语义的实现。非公平锁的释放和公平锁完全一样,所以这里仅仅分析非公平锁的获取。使用非公平锁时,加锁方法lock()调用轨迹如下。
1)ReentrantLock : lock()。
2)NonfairSync : lock()。
3)AbstractQueuedSynchronizer : compareAndSetState(int expect, int update)。
在第3步真正开始加锁,下面是该方法的源代码。
protected final boolean compareAndSetState(int expect, int update) {
return unsafe.compareAndSwapInt(this, stateOffset, expect, update);
}
该方法以原子操作的方式更新state变量,本文把Java的compareAndSet()方法调用简称为CAS。JDK文档对该方法的说明如下:如果当前状态值等于预期值,则以原子方式将同步状态设置为给定的更新值。此操作具有volatile读和写的内存语义。
这里我们分别从编译器和处理器的角度来分析,CAS如何同时具有volatile读和volatile写的内存语义。
前文我们提到过,编译器不会对volatile读与volatile读后面的任意内存操作重排序;编译器不会对volatile写与volatile写前面的任意内存操作重排序。组合这两个条件,意味着为了同时实现volatile读和volatile写的内存语义,编译器不能对CAS与CAS前面和后面的任意内存操作重排序。
下面我们来分析在常见的intel X86处理器中,CAS是如何同时具有volatile读和volatile写的内存语义的。
下面是sun.misc.Unsafe类的compareAndSwapInt()方法的源代码。
public final native boolean compareAndSwapInt(Object o, long offset,
int expected,
int x);
可以看到,这是一个本地方法调用。这个本地方法在openjdk中依次调用的c++代码为:unsafe.cpp,atomic.cpp和atomic_windows_x86.inline.hpp。这个本地方法的最终实现在openjdk的如下位置:openjdk-7-fcs-src-b147-27_jun_2011\openjdk\hotspot\src\os_cpu\windows_x86\vm\ atomic_windows_x86.inline.hpp(对应于Windows操作系统,X86处理器)。下面是对应于intel X86处理器的源代码的片段。
inline jint Atomic::cmpxchg (jint exchange_value, volatile jint* dest,
jint compare_value) {
// alternative for InterlockedCompareExchange
int mp = os::is_MP();
__asm {
mov edx, dest
mov ecx, exchange_value
mov eax, compare_value
LOCK_IF_MP(mp)
cmpxchg dword ptr [edx], ecx
}
}
如上面源代码所示,程序会根据当前处理器的类型来决定是否为cmpxchg指令添加lock前缀。如果程序是在多处理器上运行,就为cmpxchg指令加上lock前缀(Lock Cmpxchg)。反之,如果程序是在单处理器上运行,就省略lock前缀(单处理器自身会维护单处理器内的顺序一致性,不需要lock前缀提供的内存屏障效果)。
intel的手册对lock前缀的说明如下。
1)确保对内存的读-改-写操作原子执行。在Pentium及Pentium之前的处理器中,带有lock前缀的指令在执行期间会锁住总线,使得其他处理器暂时无法通过总线访问内存。很显然,这会带来昂贵的开销。从Pentium 4、Intel Xeon及P6处理器开始,Intel使用缓存锁定(Cache Locking)来保证指令执行的原子性。缓存锁定将大大降低lock前缀指令的执行开销。
2)禁止该指令,与之前和之后的读和写指令重排序。
3)把写缓冲区中的所有数据刷新到内存中。
上面的第2点和第3点所具有的内存屏障效果,足以同时实现volatile读和volatile写的内存语义。
经过上面的分析,现在我们终于能明白为什么JDK文档说CAS同时具有volatile读和volatile写的内存语义了。
现在对公平锁和非公平锁的内存语义做个总结。
公平锁和非公平锁释放时,最后都要写一个volatile变量state。
公平锁获取时,首先会去读volatile变量。
非公平锁获取时,首先会用CAS更新volatile变量,这个操作同时具有volatile读和volatile写的内存语义。
从本文对ReentrantLock的分析可以看出,锁释放-获取的内存语义的实现至少有下面两种方式。
1)利用volatile变量的写-读所具有的内存语义。
2)利用CAS所附带的volatile读和volatile写的内存语义。
- 点赞
- 收藏
- 关注作者
评论(0)