Openresty最佳案例 | 第1篇:Nginx介绍
Nginx 简介
Nginx是一个高性能的Web 服务器,同时是一个高效的反向代理服务器,它还是一个IMAP/POP3/SMTP
代理服务器。
由于Nginx采用的是事件驱动的架构,能够处理并发百万级别的tcp连接,高度的模块化设计和自由的BSD许可,使得Nginx有着非常丰富的第三方模块。比如Openresty、API网关Kong。

Nginx的优点
高并发响应性能非常好,官方Nginx处理静态文件并发5w/s
反向代理性能非常强。(可用于负载均衡)
内存和cpu占用率低。(为Apache的1/5-1/10)
对后端服务有健康检查功能。
支持PHP cgi方式和fastcgi方式。
配置代码简洁且容易上手。
Nginx的安装
Centos系统安装,请参考这里http://www.linuxidc.com/Linux/2016-09/134907.htm。先复制粘贴下它的文章。
1.gcc 安装
安装 nginx 需要先将官网下载的源码进行编译,编译依赖 gcc 环境,如果没有 gcc 环境,则需要安装:

2.PCRE pcre-devel 安装
PCRE(Perl Compatible Regular Expressions) 是一个Perl库,包括 perl 兼容的正则表达式库。nginx 的 http 模块使用 pcre 来解析正则表达式,所以需要在 linux 上安装 pcre 库,pcre-devel 是使用 pcre 开发的一个二次开发库。nginx也需要此库。命令:

3.zlib 安装
zlib 库提供了很多种压缩和解压缩的方式, nginx 使用 zlib 对 http 包的内容进行 gzip ,所以需要在 Centos 上安装 zlib 库。

4.OpenSSL 安装
OpenSSL 是一个强大的安全套接字层密码库,囊括主要的密码算法、常用的密钥和证书封装管理功能及 SSL 协议,并提供丰富的应用程序供测试或其它目的使用。
nginx 不仅支持 http 协议,还支持 https(即在ssl协议上传输http),所以需要在 Centos 安装 OpenSSL 库。

5.官网下载
1.直接下载.tar.gz安装包,地址:https://nginx.org/en/download.html
2.使用wget命令下载(推荐)。

6.解压
依然是直接命令:

7.配置
其实在 nginx-1.10.1 版本中你就不需要去配置相关东西,默认就可以了。当然,如果你要自己配置目录也是可以的。
使用默认配置

8.编译安装

查找安装路径:

Nginx的模块组成
Nginx的模块从结构上分为核心模块、基础模块和第三方模块:
核心模块:HTTP模块、EVENT模块和MAIL模块
基础模块:HTTP Access模块、HTTP FastCGI模块、HTTP Proxy模块和HTTP Rewrite模块,
第三方模块:HTTP Upstream Request Hash模块、Notice模块和HTTP Access Key模块。
Nginx的高并发得益于其采用了epoll模型,与传统的服务器程序架构不同,epoll是linux内核2.6以后才出现的。Nginx采用epoll模型,异步非阻塞,而Apache采用的是select模型。
Select特点:select 选择句柄的时候,是遍历所有句柄,也就是说句柄有事件响应时,select需要遍历所有句柄才能获取到哪些句柄有事件通知,因此效率是非常低。
epoll的特点:epoll对于句柄事件的选择不是遍历的,是事件响应的,就是句柄上事件来就马上选择出来,不需要遍历整个句柄链表,因此效率非常高。
Nginx常用命令
nginx 环境变量配置:

查看nginx进程
ps -ef|grep nginx
启动nginx
nginx
启动结果显示nginx的主线程和工作线程,工作线程的数量跟nginx.conf中的配置参数worker_processes有关。
平滑启动nginx
kill -HUP cat /var/run/nginx.pid
或者
nginx -s reload
强制停止nginx
pkill -9 nginx
检查对nginx.conf文件的修改是否正确
nginx -t
停止nginx的命令
nginx -s stop或者pkill nginx
查看nginx的版本信息
nginx -v
查看完整的nginx的配置信息
nginx -V
Nginx的配置
通常情况下,Nginx的配置在Ngix的安装目录下的/conf/config.default 文件里,基本配置如下:

location 常用配置如下:

Nginx的常用配置非常多,以下内容摘自于布尔教育课件,仅供参考:



配置详解2如下:


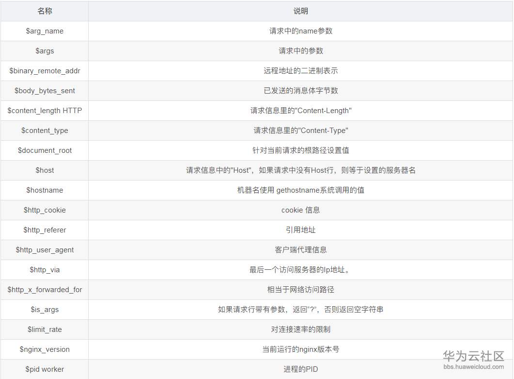
Nginx 内置绑定变量


参考资料
http://www.linuxidc.com/Linux/2016-09/134907.htm
https://moonbingbing.gitbooks.io/openresty-best-practices/content/ngx/nginx.html
- 点赞
- 收藏
- 关注作者
评论(0)